GDS is comprised of objects; these are directory objects, and reflect the X.500 design. The XDS interface also works with objects. However, there is a big difference between directory and XDS objects. Programmers do not work directly with the directory objects; they are composed of attributes that make up the directory service's implementation of entries.
Programmers work with XDS objects. XDS objects have explicit data representations that can be directly manipulated with programming language operators. Some of these techniques are described in this topic; others can be found in Sample Application Programs.
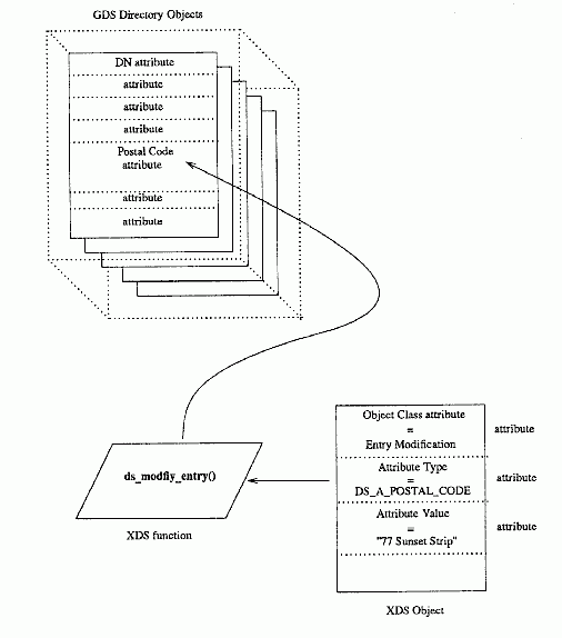
XDS and GDS terminology sometimes suggests that XDS objects are somehow direct representations of the directory objects to which they communicate information. This is not the case, however. You never directly see or manipulate the directory objects; the XDS interface objects are used only to pass parameters to the XDS calls, which in turn request GDS (or CDS) to perform operations on the directory objects. The XDS objects are therefore somewhat arbitrary structures defined by the interface.
The following figure illustrates the relationship between XDS (also called interface) objects and directory objects. The figure shows an application passing several properly initialized XDS objects to some XDS function; it then takes some action, which affects the attribute contents of certain directory objects. The application never works with the directory objects; it works with the XDS interface objects.
A side effect of the existence of a separate XDS interface and GDS or CDS directory objects is the existence of attributes for both kinds of objects as well. Because the purpose of XDS objects is to feed data into and extract data from directory objects, programmers work with XDS objects whose attributes have directory object attributes as their values. You should keep in mind the distinction between directory objects and interface objects.
Directory Objects and XDS Interface Objects
