 
The cdscache create Command
A DCE administrator can run the dcecp program's cdscache create command to create knowledge in the clerk's cache about a server. This command is useful when the
server and clerk are separated by a Wide Area Network (WAN), and the clerk therefore cannot learn about the server from advertisements on a LAN.
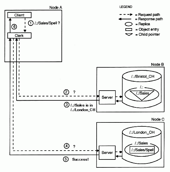
The following figure is an example of how the clerk works downward from the root of the cell namespace to locate an object entry. The object entry, /.:/Sales/Spell, describes a
spell-checking server at a company's London sales headquarters.
How the Clerk Finds a Name

As shown in the preceding figure, the clerk locates the desired object entry by performing the following steps:
1. On Node A, a spell-checking application requests the network address of the /.:/Sales/Spell server. The clerk does not have that name in its cache, and the only clearinghouse it knows
about so far is the /.:/Bristol_CH clearinghouse on Node B.
2. The clerk contacts the server on Node B with the lookup request.
3. The /.:/Bristol_CH clearinghouse does not contain the target object entry, but it does contain a replica of the root directory. From the /.:/Sales child pointer in the root,
the clerk can learn how to contact clearinghouses that have a replica of the /.:/Sales directory. The server on Node B returns this data to the clerk, informing it that a replica of
/.:/Sales is in the /.:/London_CH clearinghouse on Node C.
4. The clerk contacts the server on Node C with the lookup request.
5. The /.:/Sales replica in the clearinghouse on Node C contains the /.:/Sales/Spell object entry, so the server passes the address of the spell-checking server to the clerk.
6. The clerk returns the information to the client application, which can now make a remote call to the spell-checking server.
Long lookups, as illustrated in the figure above, do not normally happen often after a clerk establishes its cache and becomes more knowledgeable about clearinghouses and their contents. However,
the figure illustrates the resources and connections that could be involved in an initial lookup. The figure also illustrates the importance of maintaining connectivity between parent and child
directories in the namespace. If somewhere the directory path is broken or a clearinghouse is unreachable, a clerk may not be able to find a name.
|