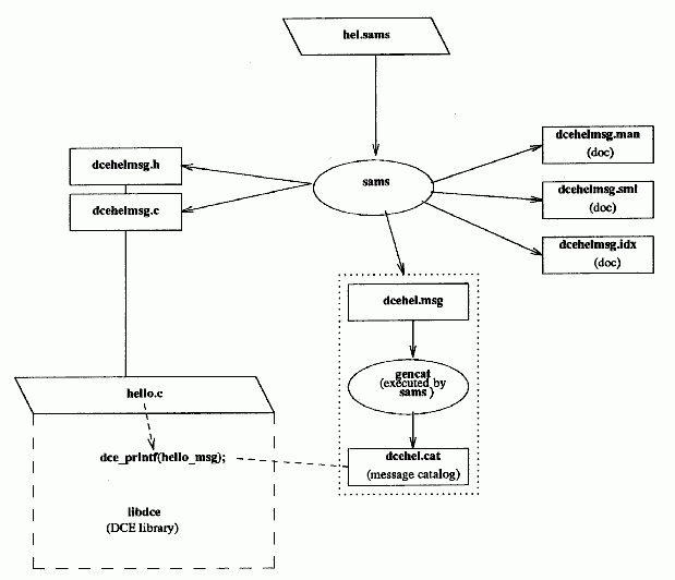
The following figure shows the relationship of the various files, both source and sams output, that go to make up DCE application code that uses the DCE messaging API.
The two parallelogram-shaped objects represent the files that must be created by the developer (you).
Rectangular objects with solid lines represent files that are generated by sams; the two ovals represent executable utilities: one is sams, the other gencat (which is implicitly run by sams when message catalogs are generated).
The large rectangular object in dashed lines represents libdce, which contains the DCE message API library.
This illustration makes no attempt to show how a DCE application that uses DCE messaging should be compiled and linked, nor how it runs. It is merely a static map of the general place of DCE application messaging in DCE development.
sams and DCE Messages

The sams output filenames are made up of the following pieces:
tech_name + comp_name + part_name + extension
where:
tech_name
Is the technology name (optionally specified at the top of the hel.sams file); by default dce.
comp_name
Is the component name (specified at the top of the hel.sams file); in this case, hel.
part_name
Is a substring identifying the particular file; for example, svc or msg, and so on. This piece of the name is omitted from the message catalog
filenames (in our example, dcehel.msg and dcehel.cat).
extension
Is the file extension (preceded by a . (dot) character).
The files dcehelmsg.man (generated by sams -p d hel.sams) andhel.sams, dcehelmsg.sml (generated by sams -p p hel.sams), which are shown in the figure above, were not generated by the following command:
sams -o thmc hel.sams
They could have been generated by executing this command:
sams -o dp hel.sams
These are automatically generated documentation files (their nature and purpose were previously described) that have nothing to do with the operation of the interface itself.
A definitive description of sams and the contents of sams files can be found in the OSF DCE Command Referencesams(1dce) reference page.