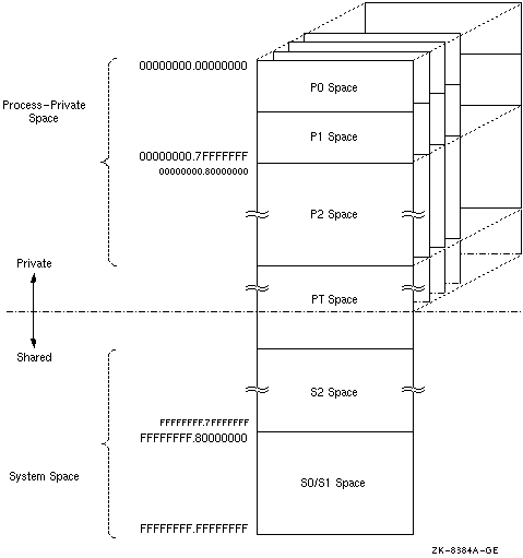
図 2-2 64ビット仮想アドレス空間レイアウト


[ 本文に戻る ]