| Previous | Contents | Index |
This chapter provides an overview of the DAS for OMNI software for MMS compliant
programmable devices. It also includes a brief description of
OMNI device communications, and the supported functions of the
DAS for OMNI software.
1.1 Description
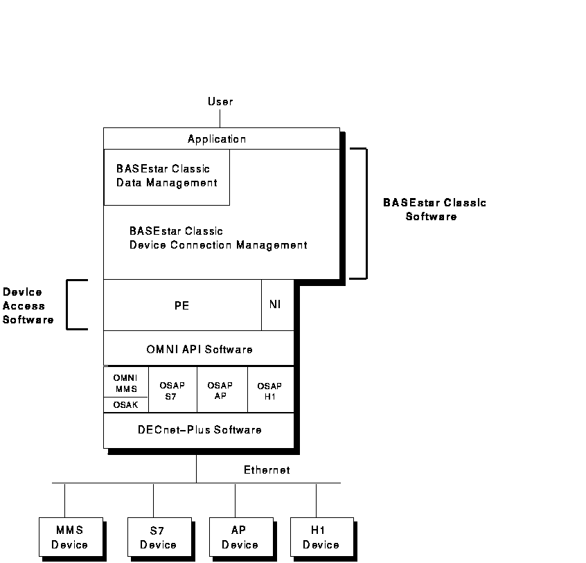
The DAS for OMNI software allows you to access devices which implement the Manufacturing Message Specifications (MMS), ISO IS-9506 and/or the Siemens SINEC-S7, SINEC-AP and SINEC-H1 protocols through BASEstar Classic device connection managment. Device connection management is a component of the BASEstar Classic for OpenVMS, which is an engineered family of software components and services that facilitate the development and integration of manufacturing automation solutions.
The BASEstar Classic DAS for OMNI software provides an interface between BASEstar Classic and OMNI software, the Compaq product which implements MMS application protocol. (Under Version 3.0 and following of OMNI software, the OMNI API and MMS protocol are split into separate products.) Furthermore, the DAS for OMNI software provides an interface between BASEstar Classic and the Siemens SINEC-S7/AP/H1 protocols using OSAP/S7, OSAP/AP or OSAP/H1 software, the Compaq products which implements these protocols under the OMNI software architecture.
Using the DAS for OMNI software users or applications can perform a variety of
device access functions for devices which implement MMS and/or
SINEC-S7/AP/H1 protocols. The DAS for OMNI software receives a request for
device access and uses the appropriate sequence of OMNI
software calls to forward the request to the device. OMNI
software responds to the request and sends the request status back to
the DAS.
1.2 Device Communications
The DAS for OMNI software consists of a Protocol Emulator (PE) and a Network Interface (NI).
The PE translates the BASEstar Classic DCM's generic services into calls to the OMNI callable interface, making data access transparent to users.
The PE also creates and maintains the OMNI data structures. VMDs, Variable Names and Data Types, are defined using the BASEstar Classic API. Definitions are not taken from the OMNI ODF object definitions.
In the DAS for OMNI software, the NI is only responsible for initializing OMNI software.
The DAS for OMNI software must be installed on an OpenVMS system that is connected to the MMS/SINEC-S7/SINEC-AP/SINEC-H1 device(s) via an 802.3 network. Connections may be made either directly on the same network backbone as the device(s) or indirectly via a bridge, the exact configuration will be dependent on the type of OpenVMS system used, the device network media and the specific networking topology requirements. Figure 1-1 shows how the DAS for OMNI software facilitates communications between device connection management and the devices.
You can perform only the BASEstar Classic functions that are supported by a device's PE. These functions can be accessed through the BASEstar Classic software's menu system, commands, and callable services.
| Previous | Next | Contents | Index |