BASEstartm Open DAS
for Allen-Bradley Data Highwaytm
on OpenVMStm
Installation and User's Guide


Previous Contents Index


Chapter 1
Overview

This chapter provides an overview of the BASEstar Open DAS for Allen-Bradley Data Highway. It also briefly describes Allen-Bradley PLC communications, and the supported functions for the DAS for Allen-Bradley Data Highway.

1.1 Description

The DAS for Allen-Bradley Data Highway allows you to access Allen-Bradley PLCs using BASEstar Open Device Services, BASEstar Open Data Services or OMNI Services.

Device Services is the device configuration and data collection component of BASEstar Open for OpenVMS, allowing the user to:

Data Services is the data management component of BASEstar Open for OpenVMS that provides device independent access to shop floor data allowing the user to:

OMNI Services provides the Applications Programming Interface (API) used by the BASEstar Open Device/Data Services to communicate with shop floor devices. OMNI uses the Manufacturing Messaging Specification (MMS) (ISO-9506) model to communicate with shop floor devices. OMNI also has the capability to support non-MMS devices such as Allen-Bradley PLCs through protocol specific Device Access Software, such as the DAS for Allen-Bradley Data Highway.

Using the DAS for Allen-Bradley Data Highway, applications can perform a variety of device access functions for the Allen-Bradley PLCs.

1.2 Device Communications

The DAS for Allen-Bradley Data Highway consists of software that provides device-specific communications for users of the OMNI API. BASEstar Open Device/Data Services use the OMNI API to provide device communications to BASEstar Open users.

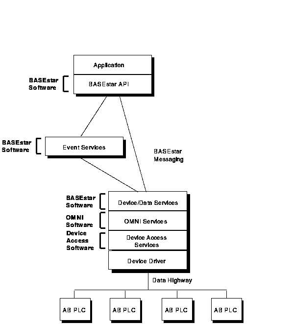
The DAS software communicates the requests and data directly with an OpenVMS device driver to send data to and receive data from plant-floor devices. Figure 1-1 shows how the DAS for Allen-Bradley Data Highway facilitates communications between BASEstar Open Device/Data Services and the device.

Figure 1-1 DAS Communications


1.3 Supported Functions and Devices

You can perform only device access funtions that are supported by the DAS.

The DAS for Allen-Bradley Data Highway supports the following OMNI Services functions for Allen-Bradley PLCs:

The DAS for Allen-Bradley Data Highway supports the following Allen-Bradley PLCs:

For more information about the supported functions for these PLCs, refer to Chapter 3 of this document.


Previous Next Contents Index