[ 前のページ ] [ 次のページ ] [ 目次 ] [ DOC Home ]

6 AlphaServer 8400でのOpenVMS Galaxyの構築

この章では,AlphaServer 8400でOpenVMS Galaxyコンピューティング環境を構築する方法について説明します。

6.1 ステップ1:構成の選択とハードウェア要件の判断

AlphaServer 8400 Galaxy構成の概要

次の目的で使用される9つのスロット:

I/Oモジュール(KFTIAタイプまたはKFTHAタイプ)
メモリ・モジュール
プロセッサ・モジュール(モジュールごとに2つのCPU)

各パーティションのコンソール・ライン:

最初のパーティション用の標準UART
各追加パーティション用のKFE72-DA

ルール:

各パーティションにI/Oモジュールが1つ必要です。
I/Oモジュールは最大3つまで認められます。
各パーティションに少なくとも1つのCPUモジュールが必要です。

構成例1

2つのパーティション,8つのCPU,12 GBのメモリ


9つのスロットは次のように割り当てられます。
2つのI/Oモジュール
4つのプロセッサ・モジュール(それぞれ2つのCPU)
3つのメモリ・モジュール(各4GB)

構成例2

3つのパーティション,8つのCPU,8 GBのメモリ


9つのスロットは次のように割り当てられます。
3つのI/Oモジュール
4つのプロセッサ・モジュール(それぞれ2つのCPU)
2つのメモリ・モジュール(各4GB)

6.2 ステップ2:ハードウェアの設定

構成に必要なハードウェアを入手した後,この節の手順に従ってハードウェアを組み立てます。

6.2.1 KFE72-DAコンソール・サブシステム・ハードウェアの概要

AlphaServer 8400では,標準のビルト・インUARTが提供されます。これはプライマリGalaxy インスタンスのコンソール・ラインとして使用されます。 追加の各インスタンスのコンソールでは,KFE72-DAコンソール・ サブシステムが必要であり,これは追加コンソール・ポートを設定するEISA-bus モジュールの集合です。

AlphaServer 8400は最大3つのI/Oモジュールをサポートします。3つより多くのモジュールを構成することはできません。

各KFE72-DAサブシステムは別々のDWLPBカード・ケージに取り付け,それを接続するホースをKFTIA またはKFTHAタイプの別のI/Oモジュールに取り付けます。

最初にスロット8から順に,すべてのKFTIA I/Oモジュールを取り付ける必要があります。 。KFTHA I/OモジュールはKFTIAモジュールの後に取り付けなければならず, 番号の小さいスロットから順に取り付けます。

このスロット割り当てルールに従っていれば,これらの2つのI/Oモジュールを任意の組み合わせで使用できます。

コンソール・サブシステムを構成する場合は,I/OモジュールとDWLPBカード・ ケージを接続するI/Oホースを一番下のホース・ポートに接続しなければなりません。 単に一番下の使用可能なホース・ポートではなく, 絶対的な場所が最初のホース・ポートです。つまり,モジュールの一番上に最も近いポートです。

KFE72-DAには3つのEISAモジュールがあり,次のポートを提供します。

6.2.2 KFE72-DAモジュールの取り付け

インスタンス0の後のOpenVMSオペレーティング・システムの各インスタンスに対して,PCI カード・ケージに次の3つのモジュールを取り付けなければなりません。

これらのモジュールを取り付けるには,第6.2.2.1 項第6.2.2.3項の手順を行ってください。 これらの手順は, 『KFE72 Installation Guide』の第5章のKFE72-DA モジュールの取り付け手順を補足するものです。

6.2.2.1 PCIカードをケージから取り出す

KFE72 Installation Guide』の第5.2.1項の手順を行います

6.2.2.2 モジュールを挿入し,リボン・ケーブルを接続する


注意
PCIモジュールを取り付ける場合, オプションのバルクヘッドがPCIカード・ケージのEMIガスケットと対応することを確認してください。

KFE72-DAモジュールはDWLPBカード・ケージのスロット0,1,2に取り付けなければなりません。

モジュールをPCIカード・ケージに挿入し,適切なリボン・ケーブルを接続するには, 図 6-1を参照し,次の操作を行います。

図 6-1 リボン・ケーブルの接続

  1. 標準I/Oモジュール(B2110-AA)をスロット0に挿入します。モジュールをカード・ ケージにネジで固定します。

  2. 60ピン・リボン・ケーブル(17-04116-01)をシリアル・ポート・ モジュール(54-25082-01)のコネクタJ1とJ2に接続します。

  3. シリアル・ポート・モジュール(54-25082-01)をスロット1に挿入します。 モジュールをカード・ケージにネジで固定します。

  4. 60ピン・リボン・ケーブル(17-04116-01)をコネクタJ1のシリアル・ ポート・モジュールから標準I/Oモジュールに接続します。

  5. コネクタ・モジュールをスロット2に挿入します。

  6. 34ピン・リボン・ケーブル(17-04115-01)をスロット0の標準I/O モジュール(B2110-AA)とスロット2のコネクタ・モジュール(54-25133-01) の間で接続します。

  7. 60ピン・リボン・ケーブル(17-04116-01)をコネクタJ2のシリアル・ ポート・モジュールからコネクタ・モジュールに接続します。

6.2.2.3 コネクタの接続

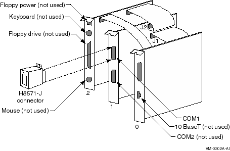
コンソール・ターミナルと追加装置を接続するには,図 6-2 を参照し,コンソール・シリアル・ライン(H8571-Jコネクタ) をCOM1に接続します。

シリアル・ポート・モジュールの番号1と番号2の間の2つの矢印は,シリアル・ ポートに対する業界標準記号であり,ポート番号を示しているわけではありません。

図 6-2 コネクタ

6.2.3 シェルフをシステムに取り付ける

カード・ケージを取り付けるには,『KFE72 Installation Guide』の第5.2.3項の手順のステップ2〜9を実行します。

6.2.4 ターミナル・サーバの使用

ターミナル・サーバを使用してコンソール・ラインをまとめなければならないことがあります。 たとえば,DECserver200を使用すると,ネットワーク上の各コンソールに逆方向LAT アクセスすることができます。この操作がそれほど必要でない場合は,OpenVMS Galaxy 構成の管理を大幅に簡単にできます。LAT サーバや他のターミナル・コンセントレータの構成の詳細については, 該当する製品のマニュアルを参照してください。

6.2.5 EISA装置の取り付け

プラグインEISA装置はパーティション0でのみ構成できます。EISA装置を取り付けた後,EISA Configuration Utility (ECU) を実行するように要求するメッセージがコンソールから出力されます。

次のように行ってECUを実行します。

  1. すべてのOpenVMS Galaxyインスタンスをシャットダウンします。

  2. フロッピー・ディスク・ドライブがプライマリ・パーティション・ ハードウェアに正しく接続されているかどうか確認します。通常, ドライブはPCIスロット2のコネクタ・モジュール("Beeper"部品番号54-25133-01) にケーブル接続することができます。

  3. ECUイメージを格納したフロッピーを挿入します。

  4. プライマリ・コンソールから次のコマンドを実行します。
         P00>>> SET ARC_ENABLE ON
         P00>>> INITIALIZE
         P00>>> RUN ECU
    

  5. ECUから要求される手順を実行します。

  6. P00>>> boot

  7. $ @SYS$SYSTEM:SHUTDOWN

  8. P00>>> SET ARC_ENABLE OFF

  9. P00>>> INITIALIZE

  10. P00>>> LPINIT

  11. OpenVMS Galaxyを再ブートします。

ECUには2つのバージョンがあり,1つはグラフィックス端末で実行され, もう1つはキャラクタ・セル端末で実行されます。どちらのバージョンもフロッピーに格納されており, コンソールはどちらのバージョンを実行するかを判断します。OpenVMS Galaxy システムの場合,プライマリ・コンソールは常にキャラクタ・ セル端末を装備したシリアル装置です。

ECUを実行しないと,OpenVMSは次のメッセージを表示します。

             %SYSTEM-I-NOCONFIGDATA, IRQ Configuration data for EISA
        slot xxx was not found, please run the ECU and reboot.

このメッセージを無視すると,システムはブートされますが,プラグインEISA 装置は無視されます。

これまでの説明に従ってOpenVMS Galaxyハードウェアを構成し,設定した後, 次の手順を実行してOpenVMS Galaxyインスタンスをインストールし, ブートします。

6.3 ステップ3:システム・ディスクの作成

インスタンスごとにシステム・ディスクを使用するのか,または クラスタ全体で共通のディスクで使用するのかを判断します。

OpenVMSバージョン7.1-2より以前のバージョンを稼動しているクラスタ・ メンバのうち,Galaxyインスタンスと同じVMS$OBJECTS.DATを共用するクラスタ・ メンバの場合は,新しいSECURITY.EXEが必要です(詳細については, 第1.8節を参照)。

6.4 ステップ4: OpenVMS Alphaバージョン7.2-1のインストール

OpenVMS Galaxyソフトウェアを実行するのに,特別なインストール手順は必要ありません。Galaxy 機能は基本オペレーティング・システムに組み込まれており, この章で説明するコンソール・コマンドとシステム・パラメータ値を使用して, 有効または無効に設定できます。

OpenVMS Alphaオペレーティング・システムのインストールの詳細については, 『OpenVMS Alpha Version 7.2 Upgrade and Installation Manual』を参照してください。

6.4.1 OpenVMS Galaxyライセンス情報

第4.1節を参照してください。

6.5 ステップ5:ファームウェアのアップグレード

AlphaServer 8400でOpenVMS Galaxy環境を構築するには,各プロセッサ・ モジュールでファームウェアのアップグレードが必要です。これらのモジュールをGalaxy 以外の構成で再び使用する場合は,以前のファームウェアを再インストールする必要があります。 現在のファームウェアCDは必ず保管しておいてください。

使用する予定のすべてのプロセッサ・モジュールを取り付け,同時に更新しておけば, 作業時間を短縮できます。AlphaServer 8400では,すべてのプロセッサ・ ボードで同じファームウェアを使用しなければなりません。 後でボードをアップグレードしなければならない場合は,次の操作が必要です。

  1. ファームウェア・リビジョン・レベルが異なるすべてのボードを取り外します。

  2. 以前のボードを更新します。

  3. 残りのボードを再び取り付けます。

ファームウェアをアップグレードするには,システムの電源をオンにし, 非Galaxyモードで稼動します(つまり,lp_countコンソール環境変数を設定している場合,0 に設定する必要があります)。

コンソール環境変数を設定するには,次のコマンドを使用します。

     P00>>> SET LP_COUNT 0
     P00>>> INIT

ファームウェアをアップグレードするには,OpenVMSバージョン7.2-1 のCD-ROMパッケージに含まれている「Alpha Systems Firmware Update Version 5.4 CD-ROM」を使用します。ファームウェアを実際にインストールする前に, パッケージに同梱されているリリース・ノートを参照してください。

6.6 ステップ6:環境変数の設定

すべてのプロセッサ・モジュールでファームウェアをアップグレードした後, 次の例に示すように,Galaxy固有の環境変数を作成できます。この例では,2 つのインスタンス,8つのCPU,1 GBのOpenVMS Galaxyコンピューティング環境を構成しているものと仮定しています。

     P00>>> create -nv lp_count         2
     P00>>> create -nv lp_cpu_mask0     1
     P00>>> create -nv lp_cpu_mask1     fe
     P00>>> create -nv lp_io_mask0      100
     P00>>> create -nv lp_io_mask1      80
     P00>>> create -nv lp_mem_size0     10000000
     P00>>> create -nv lp_mem_size1     10000000
     P00>>> create -nv lp_shared_mem_size  20000000
     P00>>> init

これらの変数を作成した後,コンソールSETコマンドを使用して,変数を操作することができます。 これらの変数はプロセッサ0でのみ作成する必要があります。

ここでは各環境変数について詳しく説明します。

LP_COUNT

この変数が0に設定されていると,システムは従来のSMP構成だけをブートします。Galaxy コンソール・モードはOFFになります。

この変数が0以外の値に設定されている場合は,Galaxy機能が使用され, Galaxy変数が解釈されます。LP_COUNTの正確な値は,コンソールが認識するGalaxy パーティションの数を表します。現在のところ,この値は0,2, 3のいずれかでなければなりません。

3つのパーティションに対してリソースを割り当て,この変数を2に設定すると, 残りのリソースは割り当てられないままになります。割り当てられないCPU はパーティション0に割り当てられます。また,あらかじめ最大数のパーティションに対して変数を作成し, 必要になるまでリソースを割り当てないようにすることもできます( つまり,変数を0以外の値に設定します) 。

LP_CPU_MASK partition number

このビット・マスクは,指定されたGalaxyパーティション番号にどのCPU を最初に割り当てるかを指定します。AlphaServer 8400コンソールは,パーティション内の最初の偶数番号のCPU を初期インスタンスとしてCPU 0で始まるプライマリとして選択します。 リソースを割り当てる場合は,このことに注意してください( つまり,奇数番号だけのCPUをパーティションに割り当てないでください) 。

LP_IO_MASK partition number

これらの変数は,スロット番号によってI/Oモジュールを各インスタンスに割り当てます。

AlphaServer 8400の場合,ここに示した割り当てだけが有効です。

これらのマスクを使用して複数のI/Oモジュールをインスタンスに割り当てることができますが, 各Galaxyインスタンスは少なくとも1つのI/Oモジュールを必要とします。

LP_MEM_SIZE partition number

これらの変数は,指定されたインスタンスに対して特定の容量のプライベート・ メモリを割り当てます。システム内のメモリ容量と各インスタンスにとって必要な割り当てをもとに, 適切な値を使用してこれらの変数を作成することが必要です。 一般的な値については,表 B-1を参照してください。

また,この後の共用メモリ変数も参照してください。

LP_SHARED_MEM_SIZE

この変数は,共用メモリとして使用するメモリを割り当てます。一般的な値については, 付録 Bを参照してください。


ヒント
共用メモリは8 MBの倍数で割り当てなければならず, すべての値は16進バイトで表現されます。

使用する共用メモリの容量だけを定義でき,他のlp_mem_size変数は未定義のままにしておくことができます。 このようにすると,コンソールは上位アドレス空間から共用メモリを割り当て,lp_count 変数によって指定された数のパーティションに対して, 残りのメモリを等しく分割します。

また,lp_mem_size 変数を使用して特定のパーティションにメモリを明示的に割り当て, 他のパーティションのメモリ割り当てを未定義のままにした場合も, コンソールはメモリ・フラグメントを,明示的にメモリが割り当てられたパーティションおよび共用メモリに対して割り当て, 残りのメモリを分割して, 明示的にメモリが割り当てられていない残りのパーティションに割り当てます。


BOOTDEF_DEV変数とBOOT_OSFLAGS変数

初期インストールの後や,システム・クラッシュやオペレータによって要求された再ブートの後, システムを再ブートしなければならない場合は, AUTOGENが正しく再ブートされるように,ブートの前に各Galaxyコンソールでこれらの変数を設定する必要があります。

Galaxy環境変数の例

     P00>>> SHOW LP*

     lp_count 2
     lp_shared_mem_size 20000000   (512 MB)
     lp_mem_size0 10000000 (256 MB)
     lp_mem_size1 10000000 (256 MB)
     lp_cpu_mask0 1 (CPU 0)
     lp_cpu_mask1 fe (CPUs 1-7)
     lp_io_mask0 100 (I/O module in slot 8)
     lp_io_mask1 80 (I/O module in slot 7)

     P00>>

6.7 手順7:セカンダリ・コンソール装置の起動

KFE72-DAがWindows-NT用に構成されていた場合は,おそらくビデオ・ボードを検出しようとしますが, 検出できないときはハングします。OpenVMS Galaxyを構成する場合,このような状況が一般的に発生します。操作モードを設定するには, コンソール・コマンドを使用します。

     P00>>> SET CONSOLE SERIAL

セカンダリ・コンソールを初期化する前に,プライマリ・コンソールに対してこのコマンドを実行すると, 設定はセカンダリ・コンソール・ハードウェアに伝達されます。

イーサネット・ポートを使用する場合は,使用するメディアの種類と接続をコンソールに通知しなければなりません。 つまり,AUI,UDP,ツイスト・ ペアのいずれを使用するのかを指定する必要があります。コンソールとオペレーティング・ システムはどのメディアを使用するかを判断しますが, 次のコマンドを使用すれば,特定のメディア・タイプを割り当てることができます。

     P00>>> SHOW NETWORK

     P00>>> SET EWA0_MODE TWISTED

最初のコマンドは,使用可能なネットワーク装置の一覧を表示します。2 番目のコマンドは,指定された装置(この例ではEWA0)に対してデフォルト・ メディア・タイプを設定します。これはセカンダリ・コンソールを初期化する前に, すべてのイーサネット装置に対して実行しなければなりません。

コンソール・モードとネットワーク・メディア・タイプ(使用する場合)を設定した後, システムを再初期化して,現在の設定を保存します。Galaxy パーティションをすでに定義している場合は,ここで初期化することができます。Galaxy パーティションをまだ定義していない場合は,初期化は後で実行しなければなりません。

システムを初期化できる場合は,次のコマンドを入力します。

     P00>>> INIT

プライマリ・コンソールからの応答として,通常の電源投入時の自己診断テスト(POST) レポートが出力されます。これには最大2分かかる可能性があります。Galaxy パーティションを適切に定義した場合は,プライマリ・ パーティションに関連するI/O装置だけが表示されます。

パーティションが定義されていることを確認するには,次のコマンドを入力します。

     P00>>> SHOW DEVICE

     or

     P00>>> SHOW NETWORK

セカンダリ・コンソールを初期化するには,次のコマンドを入力します。

     P00>>> LPINIT

コンソールに次の情報が表示されます。

     Partition 0: Primary CPU = 0
     Partition 1: Primary CPU = 2
     Partition 0: Memory Base = 000000000   Size = 010000000
     Partition 1: Memory Base = 010000000   Size = 010000000
     Shared Memory Base = 020000000   Size = 010000000
     LP Configuration Tree = 12c000
     starting cpu 1 in Partition 1 at address 01000c001
     starting cpu 2 in Partition 1 at address 01000c001
     starting cpu 3 in Partition 1 at address 01000c001
     starting cpu 4 in Partition 1 at address 01000c001
     starting cpu 5 in Partition 1 at address 01000c001
     starting cpu 6 in Partition 1 at address 01000c001
     starting cpu 7 in Partition 1 at address 01000c001

     P00>>>

このコマンドはプライマリGalaxyコンソールから入力しなければなりません。Galaxy パーティションが正しく定義されており,ハードウェア・ リソースが正しく構成されている場合は,プライマリ・コンソールは各セカンダリ・ パーティションに割り当てられているプロセッサを起動するはずです。 各セカンダリ・コンソールは約2分以内に初期化されます。

1つ以上のコンソールの初期化が失敗した場合は,ハードウェアの取り付け,Galaxy パーティションの定義,ハードウェアの割り当てを二重にチェックする必要があります。

OpenVMSコンソールの制限事項とヒントの詳細については,第10章を参照してください。

6.8 ステップ8: OpenVMS Galaxyのブート

Galaxyファームウェアを正しくインストールし,コンソールを構成した後, 次の方法で初期Galaxy環境をブートできます。

各Galaxyインスタンスに対して,次の操作を実行します。

     P00>>> B -FL 0,1 DKA100 // or whatever your boot device is.

     SYSBOOT> SET GALAXY 1

     SYSBOOT> CONTINUE

構成はこれで終了です。これでOpenVMS Galaxyが構築されました。


[ 前のページ ] [ 次のページ ] [ 目次 ] [ DOC Home ]