DIGITAL TCP/IP Services for OpenVMS
Management


Previous | Contents

8.2 Configuring Your NTP Host

The NTP configuration file UCX$NTP.CONF contains a list of hosts your system will use for time synchronization. Before configuring your host, you must:

  1. Select time sources
  2. Obtain the IP addresses and host names of the time sources
  3. Obtain the version number of NTP that the hosts are running

To ensure reliable synchronization, you should select multiple time sources that you are certain provide accurate time and are synchronized to an Internet time server.

To minimize common points of failure, avoid synchronizing:

To simplify configuration file maintenance, avoid configuring peer associations with higher stratum servers.

8.2.1 Creating the Configuration File

If you used the configuration procedure to configure NTP, the file SYS$SPECIFIC:[UCX$NTP]UCX$NTP.TEMPLATE was created. Edit a copy of this template to add the names of participating hosts, then save the file as SYS$SPECIFIC:[UCX$NTP]UCX$NTP.CONF. NTP periodically reads the last version of this file so your changes to it are dynamic.

The following shows a sample NTP.CONF file. Comment lines begin with a semicolon ( ; ).

; Sample NTP Configuration, 14-January-1997 
 
peer 18.72.0.3 
peer 130.43.2.2 
peer 16.1.0.22 
 
local-master 20 

Valid configuration file entries are as follows:

The option version n specifies the version of NTP the host is using. Version is specified in the outgoing packets used to negotiate synchronization. Version 1, 2, and 3 are valid choices; 3 is the most current implementation and is considered to be the default if you do not explicitly indicate a version number.

If you need to synchronize to a host running an earlier version of NTP, enter the version number to the server declaration in your configuration file. For example,

server 130.42.95.1 version 2 

The keyword internet_address can be either a DNS name or an IP address.

8.2.2 Configuration Example

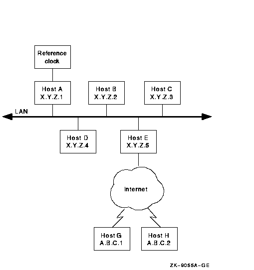
Figure 8-1 illustrates a network configuration with multiple backup levels. Sample configuration files follow.

Figure 8-1 Sample NTP Environment



In this example, local hosts synchronize to time servers as follows:

  1. Local Hosts B, C, D, and E, synchronize to Host A, the master clock.
  2. If Host A is down, the local hosts synchronize to one of the Internet servers, Hosts G and H (Stratum 1 or 2, depending on availability).
  3. If none of the above hosts are available, the local hosts will synchronize to the local master, Host B, until the master clock is available again.

The configuration files for such a scheme would look as follows:

8.3 Starting and Stopping NTP

NTP is started automatically if you selected NTP while running the configuration procedure after installation.

To stop NTP, enter the following command:

$ @SYS$MANAGER:UCX$NTPD_SHUTDOWN.COM 

To restart NTP, enter the following command:

$ @SYS$MANAGER:UCX$NTPD_STARTUP.COM 

8.4 Defining Time-Zone Offsets

OpenVMS Version 5 and Version 6 use different logical names to define time-zone offsets. NTP searches for the presence of these names as follows:

  1. Look for the OpenVMS Version 6 logical name SYS$TIMEZONE_DIFFERENTIAL.
  2. If SYS$TIMEZONE_DIFFERENTIAL is undefined, search for the OpenVMS Version 5 logical name UCX$NTP_TZ.

If the time-zone offset logical name is invalid, NTP does not capture time differences of more than 20 minutes. Follow the steps listed in Section 8.4.1 or Section 8.4.2.

8.4.1 Defining Time-Zone Offsets (OpenVMS Version 5 or Earlier)

The logical name UCX$NTP_TZ stores the UTC offset in hours, minutes, and seconds, in the format sHHMMSS, where s is "+" or "-", and HHMMSS is the offset in hours, minutes, and seconds. For example, in a location with daylight saving time (EST5EDT4), the UCX$NTP_TZ definition is -040000.

For time-zone offset information, define the logical name UCX$NTP_TZ before you start NTP. Edit the following line in SYS$COMMON:[SYSMGR]UCX$NTPD_STARTUP.COM:

$ DEFINE /SYSTEM UCX$NTP_TZ -040000 

Change the value to your time-zone offset and delete the semicolon.

If the NTP service is enabled, stop NTP by executing the command file as follows:

$ @SYS$MANAGER:UCX$NTPD_SHUTDOWN.COM 

To restart NTP, execute the command file as follows:

$ @SYS$MANAGER:UCX$NTPD_START.COM 

8.4.2 Time-Zone Offsets on OpenVMS Version 6

In OpenVMS Version 6 and higher, the operating system's installation procedure provides a command procedure that defines a time-zone differential (offset) logical name in the system logical name table (LNM$SYSTEM_TABLE).

The procedure is SYS$COMMON:[SYSMGR]UTC$CONFIGURE_TDF.COM.

The logical name is SYS$TIMEZONE_DIFFERENTIAL.

To define a time-zone offset, follow these steps:

  1. Run the command procedure SYS$COMMON:[SYSMGR]UTC$CONFIGURE_TDF.
  2. Select an option to set the time differential factor.
    The procedure prompts you for the time differential factor (the difference between your system time and Coordinated Universal Time (UTC)). Specify the difference in hh:mm format.
    North and South America have negative offsets from UTC. Europe, Africa, Asia, and Australia all have positive offsets. Enter the time differential factor.
  3. The procedure asks whether or not you wish to modify the local system time.
    Respond yes or no.
    The procedure defines the system logical name SYS$TIMEZONE_DIFFERENTIAL to be the system time differential factor (or time-zone offset). For example, during the summer months in Boston, the procedure defines SYS$TIMEZONE_DIFFERENTIAL as -14400 seconds.
  4. If NTP is enabled, follow these additional steps:
    Stop NTP. Issue:
    $ @SYS$MANAGER:UCX$NTPD_SHUTDOWN.COM 
    

    Restart NTP. Issue:
    $ @SYS$MANAGER:UCX$NTPD_START.COM 
    

8.5 NTP Event Logging

NTP maintains a record of any system clock updates in the file SYS$SPECIFIC:[UCX$NTP]UCX$NTP_LOGFILE.LOG. NTP reopens this log file daily, each time creating a new version of the file (older versions are not automatically purged). Events logged to this file may include self-explanatory messages such as

NTP also logs adjustments it makes to the system time. For example:

Table 8-1 describes the messages you may typically encounter in an NTP log file.

Table 8-1 NTP Log File Messages
Message Description
new tick A sequence of new ticks is typically used to change the tick length to speed up or slow down the local clock. For example:
17:40:10.63 +0.188438 seconds, new tick 100042 for 511 seconds
      

The first value indicates the time the entry was made. The second value, +0.188438, is the offset of the source clock in relation to the local clock, a positive offset indicating that the source clock is behind the local clock (that is, the local clock is drifting ahead). Finally, the entry announces that NTP has selected a new tick count for 511 seconds in an effort to reduce the difference between the local and source clocks, by slowly drifting together.

Had the offset value been negative, indicating that the local clock was falling behind the source clock, NTP would have introduced a lower tick count.

filtered After receiving an update from the source, NTP applies a filtering process to remove data likely to reduce the accuracy of NTP. If the offset between the local and source clocks is larger than a selected aperture, then the update is discarded and a message displayed. For example:
 17:18:50.58 -0.821443 seconds, filtered, aperture 0.679110
      
discarded If the round-trip time of the NTP message exchange exceeds a certain value (defined on an association-by-association basis), then the update is discarded and the following message logged:
 17:20:26.59 +0.029689 seconds, discarded, trip > 0.075932
      
offset This is the value between local time and NTP universal time in seconds.
lost synchronization Announces that synchronization has been lost. For example:
* lost synchronization, no valid sample from peer
      

This can occur under the following circumstances:

  • The current source is not reachable.
  • The current source is not synchronized.
  • Peer's stratum is greater than the current synchronization source's stratum.
  • The peer is synchronized to this host.
  • The past 16 routine update messages from the current source have either been filtered or discarded.
selected new synch source Announces that an update passed validity tests; the new host is accepted as the synchronization source. For example:
* selected new synch source 16.199.99.2, now at stratum 5
      
hold value After identifying a potential new source, NTP uses a hold procedure to ensure the newly selected source is stable and generating messages on a regular basis. This hold value starts with 5 and decreases by 1 every time a packet is received. A source is not considered for synchronization until the hold value equals zero (0).
accumulated drift Indicates that NTP added or subtracted a single tick to the local clock. For example:
* accumulated drift -6.6025 PPM, frobbed systick -1
      
clock reset Indicates that NTP set the local clock by jumping the local time to match the synchronization source. This occurs when the difference between the local clock and the synchronization source is too great to resolve with a drift sequence. For example:
* clock reset ~+582.429 sec by something, clearing
      
* adjusting base<-time[1] 10126680 to 10126679
* basetime: NTS offset is 779586770.503270

8.5.0.1 Sample NTP Log File

The following shows a sample NTP log file.
* lost contact with peer 16.1.0.2 
* synch source lost, free running 
* re-acquired peer 77.88.208.8 
* selected new synch source 77.88.208.8, now at Stratum 5 
 17:09:56.09    +0.004304 seconds, trip 0.1039, aperture 0.0143, hold 4 
 17:10:06.09    +0.003959 seconds, trip 0.1039, aperture 0.0140, hold 3 
 17:10:38.09    +0.004832 seconds, trip 0.1000, aperture 0.0148, hold 2 
 17:11:10.09    +0.004043 seconds, trip 0.1000, aperture 0.0140, hold 1 
 17:11:42.09    +0.002963 seconds, trip 0.1000, aperture 0.0130, hold 0 
 17:12:14.17    +0.003922 seconds, new tick 100004 for 31 seconds 
 17:12:46.18    +0.002536 seconds, new tick 100004 for 36 seconds 
 17:13:50.25    +0.006192 seconds, new tick 100004 for 89 seconds 
 17:15:58.18    +0.000944 seconds, new tick 100004 for 13 seconds 
 17:20:14.28    +0.000444 seconds, new tick 100004 for 6 seconds 
 17:24:30.38    +0.003322 seconds, new tick 100004 for 47 seconds 
 17:33:02.29    +0.001390 seconds, new tick 100004 for 20 seconds 
 17:50:06.40    +0.001011 seconds, new tick 100004 for 14 seconds 
 18:24:14.41    -0.001323 seconds, new tick 100002 for 19 seconds 
 18:58:22.42    -0.000461 seconds, new tick 100002 for 6 seconds 
* re-acquired peer 16.1.0.2 
* selected new synch source 16.1.0.2, now at Stratum 3 
 19:26:00.37    -0.005816 seconds, trip 0.2600, aperture 0.0158, hold 4 
 19:26:10.49    -0.006081 seconds, trip 0.2200, aperture 0.0161, hold 3 
 19:26:42.50    -0.012000 seconds, trip 0.2300, aperture 0.0120, hold 2 
 19:27:14.54    +0.017324 seconds, trip 0.2700, aperture 0.0120, hold 1 
 19:27:46.51    +0.001404 seconds, trip 0.2200, aperture 0.0114, hold 0 
 19:33:38.66    -0.002879 seconds, new tick 100002 for 31 seconds 
 19:38:10.76    -0.004792 seconds, new tick 100001 for 31 seconds 
 19:45:06.97    +0.055078 seconds, discarded, trip > 0.132004 
 19:48:02.92    -0.004358 seconds, new tick 100001 for 31 seconds 


Chapter 9
Configuring SNMP

Simple Network Management Protocol (SNMP) is network management technology that facilitates the management of a TCP/IP network or internet in a vendor-independent manner. SNMP enables a network administrator to manage the various network components using a set of well-known procedures understood by all components, regardless of the vendor that manufactured them.

Configuring the SNMP agent on your system allows a remote SNMP management client to obtain information about your host and to set network parameters.

This chapter reviews key concepts and describes how to configure SNMP on your UCX host.

9.1 Reviewing Key Concepts

Systems using SNMP are divided into two categories: management consoles (sometimes called clients or stations) and agents (sometimes called servers). The management console is the system that issues a query; the agent runs on the system being queried. Queries are sent and received in the form of protocol data units (PDUs).

Depending on how you configure your host, an SNMP client can obtain information about your host or actually perform updates on your host's MIB data items. For example, you can configure your host to:

DIGITAL TCP/IP Services for OpenVMS provides an SNMP master agent, two subagents (the Management Information Base (MIB) II and host resource MIB), a MIB compiler, and a MIB browser. The subagents (MIBs) are simply a set of routines that implement a hierarchical tree of managed objects. Table 9-1 describes these components.

Table 9-1 SNMP Components
Component Description
Master agent SNMP Version 1 The module that maintains the database for managed objects and allows objects to register themselves. Sends information about these objects to remote SNMP management consoles.
MIB II Provides information about the protocol stack and other network activity.
Host resource MIB Provides information about the system, system software, and performance.
MIB compiler Compiles MIB files into source code templates for use in building subagents.
MIB browser Acts as a simple client that issues SNMP commands to get a set of values for a MIB.

The first time an SNMP management "client" sends a request, the following occurs on the UCX host:

  1. The auxiliary server invokes the SNMP startup file (UCX$SNMP_STARTUP.COM) which starts up the master agent (UCX$ESNMP), the MIB II subagent (UCX$OS_MIBS), and the host resource MIB (UCX$HR_MIB).
  2. The master agent listens for incoming SNMP requests from clients on port 161. Authentication is limited to the validation of the community name and the associated address. When a request arrives, the master agent communicates with the appropriate subagent.
  3. Subagent routines collect the requested data and return the data to the master agent.
  4. The master agent responds to the client from which the original request was made.

After SNMP starts, the master agent continues to receive subsequent incoming requests at the specified port 161. (Local communication between the master agent and subagents occurs using port 242.)

9.2 Configuring SNMP

SNMP runs as a UCX service. You can configure SNMP with UCX$CONFIG or with the SET CONFIGURATION SNMP command.


Important

You enable client SET commands only with the /FLAG=SETS option to the SET CONFIGURATION SNMP command. You cannot enable SETS if using UCX$CONFIG to configure SNMP.

When you configure SNMP, you must supply the name of a contact person and the following information about your host:

Traps are sent to port 162 on hosts for all trap addresses regardless of community name. The use of address 0.0.0.0 on a trap means no trap is sent.

9.3 Displaying the Current SNMP Configuration

To display stored information about the agent, issue SHOW CONFIGURATION SNMP. Use the /FULL qualifier if you want to display the addresses that the agent recognizes as members of the community. For example:

UCX> SHOW CONFIGURATION SNMP /FULL
 
SNMP Configuration 
 
Flags:    Sets 
 
Contact:  Sam Spade 
 
Location 
  First:  Falcon Building 
  Second: Los Angeles, CA 
 
Community           Type       Address_list 
 
public              Read       0.0.0.0 
 
writeit             Read Write 0.0.0.0, 9.20.208.53 
 
trapit              Trap       9.20.208.53, 9.20.208.100 
 

9.4 Understanding the MIB Browser

UCX provides a MIB browser that lets you handle single SNMP commands for READ/WRITE to a MIB.

To run the MIB browser:

  1. Define a foreign command, for example
    $ SNMP_request == "$SYS$SYSTEM:UCX$SNMP_request" 
     
    
  2. Issue the new command:
    $ SNMP_request agent_addr "community" request [variable_name|type_value] 
    

Here,
agent_addr Is either a fully qualified domain name or simply a host name if the host is in the same domain as the host on which the browser is running.
community Is case-sensitive. For clear specification, enclose the name in double quotes (" "). Note, if you do not use quotes, the name will be changed to lowercase.
request Is one of the following:
  • GET
  • GETNEXT
  • SET

The following UNIX-like switches are available for SET requests:
--i Integer
--o Octet
--d Object identifier
--a IP_address
--c Counter
--g Gauge
--t Time_ticks
--u Unsigned integer 32
--D Display string
--N NULL

These switches are case-sensitive. To preserve uppercase for display string and NULL, enclose each switch in double quotes. For example, "--D" or "--N".

9.4.1 More on Case Sensitivity

Community names are case sensitive. To preserve the case when entering a community name, enclose the name in double quotes (" "). This is true of the SET CONFIGURATION SNMP command and for any MIB browser (client) running under DCL.

If you do not enclose the community name (or other parameter) in double quotes (" "), the parameter is translated to all uppercase or all lowercase depending on the context.


Important

If you use UCX$CONFIG to configure SNMP, do not use double quotes (" ") to preserve the case. Case will be preserved exactly as you enter it.

9.5 SNMP Executable and Command Files

Table 9-2 lists the names of the SNMP executable and command files and their locations.

Table 9-2 SNMP Executable and Command Files
File Location Function
UCX$ESNMP_SERVER.EXE SYS$SYSTEM Master agent image
UCX$OS_MIB.EXE SYS$SYSTEM MIB-II subagent image
UCX$HR_MIBS.EXE SYS$SYSTEM Host resources MIB subagent image
UCX$MIBCOMP.EXE
UCX$MOSY.EXE
UCX$SNMPI.EXE
SYS$SYSTEM Images associated with the MIB compiler
UCX$SNMP_REQUEST.EXE SYS$SYSTEM Simple MIB browser used to obtain GET/GETNEXT/SET MIB values
UCX$ESNMP_SHR.EXE SYS$SHARE Sharable image version of the routines in UCX$SNMP:*.OLB
UCX$SNMP_STARTUP.COM¹ SYS$SYSDEVICE:[UCX$SNMP] Starts the master and subagents
UCX$SNMP_SHUTDOWN.COM¹ SYS$SYSDEVICE:[UCX$SNMP] Stops the master agent and subagents


1 Also located in SYS$MANAGER. The two versions are identical as delivered. If you modify startup files at your site, you should modify both copies.


Previous | Next | Contents