[ 前のページ ] [ 次のページ ] [ 目次 ] [ 索引 ] [ DOC Home ]

24 LATソフトウェアの管理

本章では,LATソフトウェアの機能と,システム上にLATソフトウェアをインプリメントして, 管理するために必要な作業について説明します。

本章の内容

本章では次の作業について説明します。

作業 参照箇所
LATプロトコルのスタートアップ 第24.5節
LAT 特性のカスタマイズ 第24.6 節
サービスの定義 第24.6.1項
ポートの設定 第24.6.2 項
プリンタの設定 第24.6.2.1項
特殊アプリケーション・サービスの設定 第24.6.2.2項
キュー登録された外部からの接続要求の許可 第24.6.3項
外部へのLAT 接続の許可 第24.6.4 項
LATACPデータベースのサイズの管理 第24.7 節

さらに,次の項目について説明します。

項目 参照箇所
LATプロトコルについて 第24.1節
LATネットワークについて 第24.2 節
LAT構成について 第24.3節
LAT制御プログラム・ユーティリティについて 第24.4節

24.1 LATプロトコルについて

オペレーティング・システムは,ローカル・エリア・ネットワーク(LAN) 内でターミナル・サーバおよび他のシステムと通信を行うときにLAT ( ローカル・エリア・トランスポート)ソフトウェアを使用します。 ターミナル・サーバは,ターミナル,モデム,またはプリンタのLAN への接続を専門に行う通信装置です。ターミナル・サーバには次の特長があります。

LAT プロトコルをインプリメントするLATソフトウェアにより, オペレーティング・システムはターミナル・サーバがアクセスすることができる資源, すなわちサービスを提供することができます。LAT サービスを提供するシステムをサービス・ノードと呼びます。 また,ノードは,LATCPを使って外部への接続を開始し,DCLのSET HOST/LAT コマンドを使用することによってLATサービスにアクセスすることができます。 本章の以降の説明では,「サーバ」という用語は,専用のターミナル・ サーバと他のLATサービスへの外部アクセスを可能にするノードの両方の意味で使用しています。

LATサービスは,コンピュータ・システムのすべての資源で構成することも, アプリケーション・プログラムのような特定の資源だけで構成することもできます。 システムを汎用タイムシェアリング・サービス として設定することにより,システムのすべての資源をLAN上の各ユーザから使用可能にしたり, システム上の特定のサービス(アプリケーション・ プログラム)へのアクセスを制限したりできます。本章および『OpenVMS I/O User's Reference Manual』では,専用のアプリケーション・プログラムへのアクセスを設定するための手順の概要を説明します。

24.1.1 LATプロトコルの機能

LATプロトコルは,ターミナル・サーバおよびコンピュータがイーサネットまたはFDDI (Fiber Distributed Data Interconnect) などを利用したLAN 上で相互に通信を行うことを可能にします。LATプロトコルは,ターミナルなどの装置とLAN のシステム資源(サービス)とを照合します。LATターミナルはアクセスしようとするコンピュータ( サービス・ノード)に直接接続されていないため, ターミナルから出されるサービス要求を受け付け, 要求を出したターミナルと要求されたサービスを提供するコンピュータとを照合する機能がローカル・ サーバに必要となります。

LATプロトコルを使用することにより,オペレーティング・システムは提供可能なサービスをLAN 上に通知します。サーバは,LANの通知をリッスンして, サービス情報のデータベースを構築します。このデータベースにより, サーバはユーザ・ターミナルからシステム・サービスを要求されたときに, そのサービスを提供するシステムを特定することができます。たとえば, あるユーザ・ターミナルからオペレーティング・システム上の汎用処理サービスまたはデータ・ エントリ・プログラムを要求された場合, サーバはLATプロトコルを使用して要求側のターミナルとオペレーティング・ システムとの間の接続を確立して,保持します。

オペレーティング・システムは,ターミナル・サーバに対してサービスを要求できる場合があります。LAT プロトコルを使用すると,システムは, ターミナル・サーバに直接接続されているプリンタなどの装置への接続を要求することができます。

24.1.2 LATプログラムの利点

システム上でLATプロトコルを使用することには,次のような多くの利点があります。

24.2 LATネットワークについて

ターミナル・サーバおよびオペレーティング・システムがLATプロトコルを使用しているローカル・ エリア・ネットワークのことをLATネットワーク と呼びます。LATネットワークは,同じLAN上で他のプロトコルと共存することができます。LAT プロトコルはターミナル・サーバおよびオペレーティング・ システムの両方で動作し,LAN上でデータが安全に送信される設計になっています。

LATネットワークのコンポーネントは次のとおりです。

コンポーネント 参照箇所
サービス・ノード 第24.2.1項
ターミナル・サーバ・ノード 第24.2.2項
外部への接続が可能なノード 第24.2.3項
LANケーブル 第24.2.4項

サービス・ノードはローカル・ネットワークのためにシステム資源を提供します。 一方,ターミナル・サーバ・ノード(または外部への接続が可能なノード) は,ユーザ・ターミナルまたはアプリケーション・プログラムから要求があると, ターミナル,モデム,またはプリンタをシステム資源に移植します。

LATネットワークでは,サービスにアクセスするノードをマスタ ・ノードと呼ぶことがよくあるので注意してください。この呼び方によって, このノードをサービスを提供するだけのノードと区別できます。

LAT制御プログラム(LATCP)を使用して,システムに合わせてLAT特性を構成することができます。LATCP を使用すると,システムのサポートする内容を次のように設定することができます。

外部から内部へのLAT接続をサポートするシステムは,サービス・ノード です。LATCPを使用して,外部からのアクセスと外部へのアクセスをともにサポートしないようにシステムを設定することもできます。

24.2.1 サービス・ノード

サービス・ノードは,LATネットワークを構成するノードの種類の1つです。LAT ネットワーク上では,OpenVMSオペレーティング・システムが稼働していないノードもOpenVMS ノードとともに使用することができます。サービス・ ノードは,ユーザおよび装置に資源を提供するLAN上の個々のコンピュータです。OpenVMS オペレーティング・システムにはLATプロトコルが含まれているため, どのOpenVMSシステムでもLATネットワーク上でサービス・ ノードとして構成することができます。

24.2.1.1 サービスの種類

各ノードはその資源をサービスとして提供します。多くの場合, 各ノードからは汎用処理サービスを提供しますが,制限されたサービスや特殊なアプリケーション・ サービスを提供することもできます。また,1 つのノードから提供するサービスの一部あるいはすべてを特殊なアプリケーションにすることが可能です。

たとえば,サービス・ノードから提供できるサービスには次のものがあります。

汎用処理サービスでは,汎用のシステム環境を使用することができます。 一方,データ・エントリや株式相場のサービスの場合はその環境が制限され, サービス・ノードのアプリケーション・サービスへの接続は行われますが, 他の部分への接続は行われません。

各サービスはシステム管理者によって割り当てられた名前によって区別されます。OpenVMS Cluster では,サービス名はクラスタ名と同じにしてください。 独立したノードでは,サービス名はそのノード名と同じにしてください。 特殊なサービス・アプリケーションを使用するサービスには,そのアプリケーションの名前を付けるようにします。

24.2.1.2 サービスの通知

サービス・ノードはそのサービスの内容を一定の間隔でLAN上に通知します。 ターミナル・サーバ(および外部への接続が可能なOpenVMSシステム) は,それによって各ネットワーク・サービスが利用可能かどうかを知ることができます。 通知される内容は,物理ノード名,サービス名,サービスの内容説明, そのサービスの現在の利用量です。サーバはLANへの通知をリッスンして, 情報をデータベースに記録します。外部への接続が可能なノードでは, このデータベースはLAT補助制御プロセス(LATACP)によって保守されます。LATACP データベースの管理についての詳細は,第24.7節を参照してください。

ユーザ・ターミナルまたはアプリケーション・プログラムからサービスの要求を受け取るたびに, サーバ・ノードは適切なサービス・ノードに接続を行います。

LATCPコマンドSET NODEに/NOANNOUNCEMENTS修飾子を指定して使用することにより, マルチキャスト・サービスからローカル・ノードを無効にすることができます。 ただし,遠隔ノードは,ローカル・ノードに接続するためには,LAT プロトコル・バージョン5.2 (またはそれ以上)のLATサービス応答機能に依存しなければならないため, 新しいモデルのターミナル・サーバおよびホストがあるネットワーク環境(LAT ホスト,ターミナル・サーバ, およびPCがすべて,LATプロトコルのバージョン5.2以上を実行している) でのみ,この修飾子を使用してください。この環境以外で使用した場合, バージョン5.2より前のLATプロトコルを実行しているシステム(DECserver 100 ,200,500システムなど)は,LATサービス通知を無効にしているシステムとは接続できません。

24.2.1.3 プリント要求

サービス・ノードがターミナル・サーバにサービスを要求できる場合がいくつかあります。 最も一般的なケースは,システムがターミナル・サーバのポートに接続されているプリンタを使用する場合です。 システムはプリント要求をターミナル・ サーバのプリント・キューに登録します(このプリント・ キューはOpenVMSのスタートアップ・プロシージャの中で設定されて, 初期化されます)。キューに要求が登録されると,LATシンビオント( 大容量記憶装置との間でデータを転送するプロセス)により,LATポート・ ドライバに対して遠隔プリンタへの接続の確立と終了が要求されます。

LATポートに接続されているプリンタのキューを設定する方法については, 第13.1.3項および第13.2.2.4項を参照してください。

24.2.2 ターミナル・サーバ・ノード

ターミナル・サーバ・ノードは,LATネットワークを構成するノードのもう1 つの種類です。通常,ターミナル・サーバ・ノードはそれがサポートするターミナルおよびプリンタの近くに存在します。 ターミナルおよびプリンタは, ケーブルによってターミナル・サーバに物理的に接続され,LAN ケーブルには直接接続されません。LANケーブルはターミナル・ サーバに物理的に接続されます。

24.2.2.1 サービス・ノードの位置の特定

ターミナル・サーバはネットワーク上の各ノードからの通知に基づいてサービスのディレクトリを作成し, それを管理します。ターミナル・サーバはターミナル・ ユーザから要求を受け取ると,サービス・データベースを検索し, 要求されたサービスを提供するコンピュータの位置を特定します。

ターミナル・サーバは要求されたサービスを提供するノードを探すだけでなく, そのノードのサービスの利用量を調べることがあります。要求されたサービスが複数のノードから提供されている場合, サービスの利用量が最も少ないノードを選択し, そのノードと要求側のユーザ・ターミナルとの間に論理接続を確立します。

24.2.2.2 接続の設定

1つの論理接続により,1つのターミナル・サーバ・ノードからサービス・ ノードに向けられたすべてのデータが運ばれます。つまり,サーバは同じノードと通信を行っているすべてのターミナルからのデータを1 つの接続上に結合します。 ターミナル・サーバは,論理接続がまだ存在しない場合にだけサービス・ ノードとの論理接続を確立します。

何らかの理由で接続に失敗すると,ターミナル・サーバは同じサービスを提供している別のノードを探し, そのノードとの接続を確立することによって, ユーザがコンピューティング・セッションを続行できるようにします。

ターミナルからの接続は1つにまとめられても,個々のターミナルはそのターミナル名によって区別されます。 ターミナル名は2つの部分から構成されます。 最初の部分はターミナル回線が接続されているターミナル・サーバ上のポートの名前を示し,2 番目の部分はターミナル・サーバ・ノードの名前を示します。

24.2.2.3 サービス提供側のノード

通常,LATネットワークにおける要求側ノードはターミナル・サーバですが, サービス・ノードがターミナル・サーバに対してサービスを要求することがあります。 最も一般的なケースとして,サービス・ノードがターミナル・ サーバに接続されている遠隔プリンタにプリント要求をキュー登録することが挙げられます。

24.2.3 外部への接続が可能なノード

ノードは,外部からの接続だけ,外部への接続だけ,またはその両方が可能になるように設定することができます。 ターミナル・サーバなどのノード( 外部からの接続だけが可能なノードは除く)は,サービス・ノードの位置を特定して, 接続を設定することができます。利用可能なノードとサービスに関する情報を格納したデータベースは,LAT 補助制御プロセス(LATACP) によって保守されます。LATACPデータベースの管理についての詳細は, 第24.7節を参照してください。

外部へのLAT接続が可能になるように設定されたノード上では,ユーザはSET HOST/LAT コマンドを入力することによってLATネットワーク上の他のノードに接続することができます。 詳細は,『OpenVMS DCLディクショナリ』のSET HOST/LATコマンドの定義を参照してください。

24.2.4 LATネットワークのコンポーネント

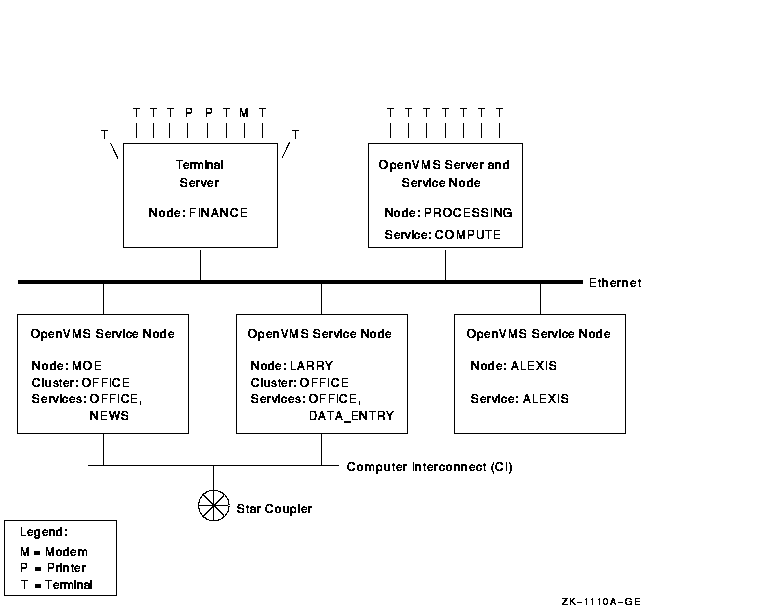
図 24-1は,LATネットワークのコンポーネントを示しています。 ネットワークは,サービス・ノード,ターミナル・ サーバ・ノード,およびそれらを接続するイーサネット・ケーブルから構成されます。

図 24-1にあるNOE,LARRY,ALEXIS は, ネットワーク上のターミナル・サーバ・ノードにそれぞれのサービスを提供するノードです。

サービス・ノードのうちのNOE とLARRYは,コンピュータ・インタコネクト(CI) とスター・カプラによってクラスタOFFICEを形成しています。クラスタ化されているこの2 つのノードのサービス名はクラスタ名と同じになっています。 この2つのサービス・ノードはともにOFFICEサービスを提供するため, ターミナル・サーバ・ノードは両方のOFFICEノード上の作業負荷を調べ, 利用量が少ない方のサービスを提供するノードに対して接続を確立します。

もう1つのサービス・ノードALEXISはLATネットワーク上の独立ノードのため, サービス名はノード名と同じになっています。

ノードNOEは一次的なOFFICEサービスに加えてNEWSと呼ばれるアプリケーション・ サービスを提供します。この特殊化されたサービスを利用すれば, ユーザ・ターミナルはそのサービス・ノードにログインしたり,そのノードの汎用コンピュータ資源に通常のアクセスをしなくても, オンライン・ ニュース・サービスに直接接続を行うことができます。

図 24-1のノードFINANCEはターミナル・ サーバ・ノードです。このノードは多数の会話型ターミナル,モデム, およびプリンタをサポートします。ノードPROCESSINGは,外部への接続が可能なノードです。 このノードはいくつかの会話型ターミナルをサポートします。 ノードFINANCEは3つのサービス・ノードのいずれからもプリント要求を受け付けることができます。 ただし,各サービス・ノードでターミナル・ サーバ上の遠隔プリンタをサポートするようにプリント・キューが設定されていることが必要です。

ノードPROCESSINGはサービス・ノードとしても機能し,サービスCOMPUTE を提供します。

図 24-1 LATネットワークの構成例

24.3 LAT構成について

LATシステムを構成する際には,システムが効率的に機能するように構成するために,LAT ソフトウェアとネットワークの関係を十分に理解しておく必要があります。 以降の各項では,次のことを理解する上で役立つ情報を提供します。

24.3.1 OpenVMS ClusterおよびDECnetとLATとの関係

LATプロトコルはOpenVMS Clusterソフトウェアとは独立して機能しますが, サービス・ノードはOpenVMS Clusterの概念を補うように構成します。 そのために,OpenVMS Cluster内の各ノード上にサービスを用意し, そのサービスにクラスタ名を割り当てます。ターミナル・サーバはクラスタ・ サービスの可用性を調べて,利用量が最も少ないノードに対して接続を確立します。 このように,LATプロトコルはクラスタの負荷を分散する役割を果たします。 クラスタ内のノードの1つに障害が発生した場合,ターミナル・ サーバは障害があった接続をクラスタ内の別のサービス・ノードに転送することができます。

LATソフトウェアはメッセージ伝送ファシリティとしてDECnetを使用せず, 代わりに独自の仮想サーキット層を使用して伝送メカニズムをインプリメントします。LAT とDECnetソフトウェアは共通のLAN環境でそれぞれから独立して機能します。 サービス・ノードをDECnetノードとしても使用する場合は, 互換性のためにサービス・ノード名はDECnetノード名と同じにしてください。

24.3.1.1 同じコントローラ上で実行するLATとDECnet

イーサネット・ポートがDECnetとLATの両方を実行している場合には,LAT ソフトウェアを起動する前に DECnetソフトウェアを起動しなければなりません。 最初にDECnetソフトウェアを起動しなければ,存在するすべてのLAN 接続が終了し,LATを介したシステムへの再接続が不可能になることがあります。

24.3.1.2 異なるコントローラ上で実行するLATとDECnet

DECnetがシステム上に構成されている場合(あるいはシステムがクラスタに組み込まれている場合) ,SCSSYSTEMIDシステム・パラメータはゼロ以外の値を含むことがあります。 同じ論理LANに接続されたLANコントローラがシステムに複数台ある場合を除いて, 通常これは問題になりません。

たとえば,システムにFDDIコントローラとイーサネット・コントローラがある場合には,FDDI コントローラに接続されたFDDIリングとイーサネット・ コントローラに接続されたイーサネット・セグメントが,10/100 LAN ブリッジ(FDDIからイーサネット)でブリッジされるように構成することができます。

このような構成では,SCSSYSTEMIDが0でない場合,同じコントローラ上でLAT とDECnetとを実行しなければなりません。同じコントローラ上で実行しなければ,DECnet が最初に起動するため,他のコントローラで起動するLAN が異常終了します。これは,LATが起動時にAA-00-04-00-xx-xx アドレス(DECnet LANアドレス)を使用しようとしても,DECnetがすでに別のコントローラでこのアドレスを使用しているため, データ・リンク層が, そのアドレスを使用したLATの起動を妨げるためです(単一の論理LAN においては,すべてのデータ・リンク・アドレスは固有のものでなければなりません。 両方のコントローラが同じアドレスの使用を試みるため,固有ではなくなります) 。

次のコマンドでLATリンクを作成しても,LANドライバがSCSSYSTEMIDに基づいたアドレスを使用しようとするため, 失敗します。

     LATCP> CREATE LINK LAT$LINK_2 /NODECNET

SCSSYSTEMIDを0に設定すると,異なるコントローラ上でLATとDECnetを構成することが可能になります。 ただし,クラスタ環境ではSCSSYSTEMIDを0 に設定することはできません。

24.3.2 複数のLANアダプタの使用

1つのLATノードに複数のLANアドレスを使用すれば,同じ論理LANに接続された複数のLAN アダプタを持つシステムを構成できます。LATソフトウェアは各アダプタで同時に実行でき, 接続も良好に維持されます。たとえば, 仮想サーキットで1次パスを選び,すべてのLATメッセージ転送に使用した場合には, もとのパスが遮断されても,LATソフトウェアは,別のアダプタまたは論理パスを介して通信を継続できます。


注意
LATプロトコルのバージョン5.3 ( バージョン7.0以降のOpenVMSオペレーティング・システムに含まれる) より前のLATソフトウェアのバージョンを実行しているノードの動作は少し異なります。 したがって,システム構成に,バージョン5.1やバージョン5.2 などのLATソフトウェアの初期のバージョンが含まれている場合には, 本章で説明している相違点や考慮事項について注意してください。

24.3.2.1 サポートされる構成

複数のLANアダプタでLATを実行することはできますが,1つの論理LANから別の論理LAN にLATを経路指定することはできません。次に示すのは,LAT プロトコル・バージョン5.3を実行しているノード(バージョン5.2および5.1 を実行しているノードも含む)のためのサポートされているLAT構成の例です。

この広く使用されている構成では,LATバージョン5.3ソフトウェアを実行しているOpenVMS システムが,同じ物理LANに接続されている2つのイーサネット・ アダプタ(図のラベルAおよびB)を介してDECserver 200に接続されています。

図 24-2 複数アドレスのLAT構成: 1つのLANにバージョンが混在するLAT ノードがある場合

DECserver 200とOpenVMSシステムの間でLAT接続が開始されると,LATソフトウェアは,A とBの両方のアダプタがLAT仮想サーキットに使用できると判断します。 一方のアダプタは1次通信パスとして選択され,もう一方は1 次通信パスに障害が起こった場合に備えておきます。

たとえば,ユーザがDECserver 200からOpenVMSシステムに接続すると, OpenVMSシステムは,パスが2つあるが,そのうちアダプタBを1次通信パスとして使用することを決定します。 ユーザが,OpenVMSシステムから大量の出力を生成するプログラムを実行しているとき, 出力中にアダプタB が何らかの理由で障害を起こした場合には,LATソフトウェアは,アダプタA を介して,OpenVMSシステムからDECserverへの通信を続行しようとします。

図 24-3に,ブリッジされた2つのLANを示します。 ただし,この構成は,図 24-2に示した構成と同じ特徴を示しています。

図 24-3 複数アドレスのLAT構成: 2つのLANにバージョンが混在するLAT ノードがある場合


注意
図 24-3 のイーサネット2は,FDDIネットワークであると考えられます。LAT ソフトウェアは,各アダプタを同じコストがかかる2地点間通信とみなし,FDDI コントローラをまったく同様に扱います。ただし,大容量のバッファのサポートについての詳細は, 第24.3.3 項を参照してください。

図 24-4の構成の例では,2つのOpenVMSシステム間で作成された仮想サーキットには,2 つのパスがあります。コントローラB とC,およびAとDを介するパスです。1つのパスで障害が起こった場合, 仮想サーキットはもう一方のパスを介して続行されます。両方のパスに障害が起こった場合には, 仮想サーキットは結果として時間切れになります。

図 24-4 複数アドレスのLAT構成: 2つのLANにバージョン5.3 のLATノードがある場合

24.3.2.2 サポートされない構成

バージョン5.3のLATソフトウェアを実行するOpenVMSシステムを使用するために, ネットワークを構成する場合には,図 24-5 に示すような構成は避けてください。

図 24-5 サポートされない複数アドレスのLAT構成

この図に示したような構成は,予期しない結果となり機能しなくなります。 ネットワーク環境では,LATのバージョン5.1および5.2のノードは,1 つの論理LANアドレスだけしか持つことができません。図 24-5 の構成はこの規約に違反します。図 24-4 に示す構成は有効です。

24.3.2.3 論理LATリンクの作成

LATソフトウェアはすべてのパスを同じコストがかかる,2地点間通信とみなします。LAT ソフトウェアは最高で8個のLANアダプタを同時にサポートできます( さらに,すべてのコントローラを同じ論理LANに接続することもできます) 。パス障害に備えて,最大数のアダプタを用意するためには, 各論理リンクを作成してから,LATノード状態をSYS$MANAGER:LAT$SYSTARTUP.COM でONに設定してください。

たとえば,システムに2つのFDDIアダプタ(FCA0とFCB0)を持つイーサネット・ アダプタ(装置ESA0)が1つあり,システム管理者がすべてのアダプタを介してLAT を実行することを選択した場合,LAT$SYSTARTUP.COMファイルには, 次のコマンドが含まれます。

             $!
             $! Create each logical LAT link with a unique name and
             $! unique LAN address (forced with /NODECNET).
             $!
             $ LCP CREATE LINK ETHERNET /DEVICE=ESA0 /NODECNET
             $ LCP CREATE LINK FDDI_1 /DEVICE=FCA0 /NODECNET
             $ LCP CREATE LINK FDDI_2 /DEVICE=FCB0 /NODECNET
             $!
             $! Turn on the LAT protocol.
             $!
             $ LCP SET NODE /STATE=ON


重要
リンクが作成される前にLATCP コマンドSET NODE /STATE=ONが入力されると,ランダムなLAT$LINKまたは省略時の設定のLAT$LINK が,一方のLANアダプタ上に作成されます。どちらのLAN アダプタが選択されるかを予期する方法はありません(システム構成に依存します) 。したがって,LATを起動する前にすべてのLATリンクを作成してください。

各論理リンクは,必ず/NODECNET修飾子を使用して作成してください。 この方法で作成すれば,複数のアダプタがDECnetスタイルのアドレスを使用しようとした際に, リンク作成障害を回避できます。 同じアドレスを持つ同じ論理LANに複数のLANアダプタを接続することはLAN 規約に違反し,LATや他のプロトコルの障害の原因となります。


LATプロトコルの開始後,論理LATデータリンクを作成することができます。 既存の仮想サーキットは,新しく作成された論理リンクが使用できるようになると, これを使用して,新しいパスを探そうとします。ただし, この時点ではリンクを作成しないでください。この間,LATプロトコルは既存の仮想サーキットを使用し, この新しく作成されたデータリンクを介して, 新しいパスを見つけようとするため,新しいパスが見つかる前に仮想サーキットに障害が起こる可能性があります。

24.3.2.4 パスの発見

OpenVMS LATソフトウェアはディレクトリ・サービスと送信請求を組み合わせて使用して, 各仮想サーキットのパスを取得します。仮想サーキットの開始時にパスの発見を早めるには,LAT サービスおよびノード・データベースを保守するために複数のLAN アダプタを持つシステムを,次のように構成してください。

外部への接続を無効にして,サービスおよびノード・データベースなしで実行されているOpenVMS システムは,各仮想サーキットに複数のパスがあっても実行できます。 これらのパスは,LAT送信請求プロセスで発見されますが, 長い時間がかかるでしょう(すべてのパスが発見される前に,仮想サーキットで障害が起こる可能性があります) 。

24.3.2.5 LATパラメータの変更

万一,パスに障害が起こった場合は,OpenVMS LATソフトウェアが別の有効なパスを見つけるのに時間がかかります( 時間は遠隔ノードがアクセスしているアダプタの数によって異なります) 。したがって,有効になる可能性のあるLAT マスタ・ノード上の次のLATパラメータを変更してください。

複数のアダプタを介すことにより,LATバージョン5.1またはLATバージョン5.2 のマスタ・ノードに仮想サーキットの実行を続けさせることはできますが, これらのノードへの接続が失敗することもあります。

LATバージョン5.2およびLATバージョン5.1のマスタ・ノードは,サービスを提供するLAT ノードへの複数のパスを識別することができません。これらのマスタ・ ノードは,一度に1つの遠隔アドレスを介してだけ,そのようなノードと通信できます。 したがって,LATバージョン5.1またはバージョン5.2 を実行しているLATマスタ・ノードが,サービスを提供しているLAT バージョン5.3の遠隔ノードに接続しようとした時にLANパスに障害が起こった場合には,LAT バージョン5.3のノードは時間内にこの障害を見つけ出すことができず,LAT マスタ・ノードは時間切れで接続を切断する可能性があります。 再伝送制限をできるだけ高く設定することによって,この障害を部分的には解決することができます。

また,1次パスに障害が起きたとき,サービスを提供しているLATバージョン5.3 のノードが,仮想サーキットが完全にアイドル状態であると判断した場合には, 代替パスのいずれかを使用しようとする試みは行われません( 前述のLATバージョン5.2および5.1の制約を参照)。したがって,複数のLAN アダプタが古いLATのインプリメンテーションで動作していても, OpenVMSオペレーティング・システムのバージョン7.0以降にアップグレードして,LAT バージョン5.3プロトコルを取得する必要があります。これにより, このタイプの問題が解決されます。このタイプの問題は,アイドル状態にある接続だけに影響します。 このような状況の例としては,昼休みや終業時刻にすべてのユーザが同時にシステムを離れた場合などがあります。

24.3.3 イーサネット/FDDI構成での大容量のバッファ

OpenVMS LATソフトウェアは,FDDIコントローラを介した仮想サーキットで, 大容量のバッファを使用しようとします。この機能は, 代わりの仮想サーキット・パスがイーサネットを介さなければならない場合に, 障害を起こすことがあります。図 24-6 に,障害を起こす構成の例を示します。

図 24-6 LAT FDDIリングおよび大容量のバッファ

この図では,コントローラBおよびCにより作成されるパスを介することにより, 大きなパケットを使用して,2つのOpenVMSシステムが通信することも可能です。 大きなパッケットとは,1500バイトを超えるデータのことです( イーサネット・メッセージは最大1500バイトのデータを含むことができます) 。コントローラBおよびCにより作成されるパスに障害が起こった場合には,A およびDによって作成されるパスを介して通信を続行することはできません。

コントローラAおよびDにより作成されるパスは,イーサネットLANセグメントを通過します。10/100 ブリッジを介して経路指定されるメッセージは, イーサネット・メッセージの最大サイズより大きくすることはできません。OpenVMS LAT ソフトウェアはこのタイプの構成を常に検出できるとは限らないため, 障害が起こる可能性があります。

前述の構成の問題を回避するには,次の2つの方法があります。最も簡単な方法は, イーサネット・アダプタを使用して,論理LATリンクを作成する方法です( いずれかのシステムにイーサネットLANアダプタがある場合) 。この方法では,メッセージ・サイズ折衝により,イーサネット・メッセージの最大サイズを超えることはありません。

どちらのシステムにもイーサネット・コントローラがない(したがって, 最初の方法が使用できない)場合は,新しいLATCPコマンド修飾子/[NO]LARGE_BUFFER を使用して,大容量のバッファ・サポートの使用を無効にします。 たとえば,次のように入力します。

     $ MCR LATCP SET NODE/NOLARGE_BUFFER

SET NODE/NOLARGE_BUFFERコマンドは,すべての論理LATリンクを作成した後,LAT ノードを起動する前に使用するようにします。たとえば,次に示すLAT$SYSTARTUP.COM のコマンドの順序に注意してください。

             $!
             $! Create each logical LAT link with a unique name and
             $! unique LAN address (forced with /NODECNET).
             $!
             $ LCP CREATE LINK FDDI_1 /DEVICE=FCA0 /NODECNET
             $ LCP CREATE LINK FDDI_2 /DEVICE=FCB0 /NODECNET
             $!
             $! Don't use large buffer support (force packet
             $! sizes to be no larger than what Ethernet can
             $! support).
             $!
             $ LCP SET NODE /NOLARGE_BUFFER
             $!
             $! Turn on the LAT protocol.
             $!
             $ LCP SET NODE /STATE=ON

24.4 LATCPユーティリティについて

LATCP (LAT制御プログラム)ユーティリティは,OpenVMSシステム上のLAT ソフトウェアの構成と制御を行うためのユーティリティ・プログラムです。LATCP のコマンドにより,LATプロトコルをインプリメントするLATドライバの停止と起動, およびOpenVMSノードのLAT特性の変更や表示を行います。

LATCPユーティリティにより,システムをサービス・ノードとして設定し,1 つ以上の資源(サービス)をローカル・エリア・ネットワーク(LAN)上の他のシステムのユーザから利用可能にすることができます。

さらに,LAN上の他のシステムのサービスをローカル・システムのユーザが利用できるように設定することも可能です。 この場合,システムはターミナル・ サーバのように動作して,他のノード上のサービスへの接続を行う複数のユーザ・ セッションを同時に管理します。

LATCPを使用すると,システムを外部からのアクセスだけをサポートするように設定することができます。 また,外部へのアクセスだけを可能にしたり, 両方向のアクセスを可能にすることもできます。さらに,両方向のアクセスともサポートしないようにシステムを設定することもできます。

外部へのアクセスをサポートするように設定されていると,LATソフトウェアはLAT サービスとノードのデータベースを管理します。このソフトウェアは, ノード上で外部へのアクセスを可能にするとデータベースを構築します。 さらに,LATのサービスの通知 (LATサービス・ノードから送信されるマルチキャスト・ メッセージ)の収集を開始し,これらのサービス通知に基づいてデータベースを構築します。 このデータベース内に登録されているサービスおよびノードを表示したり, データベースのサイズを設定したりするときにもLATCP ユーティリティを使用します。スタンドアロン・ システムのようにオーバヘッドの増加をある程度許容できるシステムでは, 外部へのアクセスを可能にしてください。

LATCPユーティリティは,次の作業に使用します。

LATプロトコルを使用すると,LAN上のLATターミナル・サーバまたはサービス・ ノードに接続されたプリンタおよび他の非同期装置に各ユーザがアクセスすることができるように, ローカル・ノード上でLATアプリケーション・ ポートを設定することができます。その場合,リモート・デバイスは適切に構成する必要があります。

24.4.1 LATCPの起動と終了

LATCPを起動するためには,次のコマンドを入力します。

     $ RUN SYS$SYSTEM:LATCP
     LATCP>

LATCP>プロンプトが表示されている状態で,LATCPの各コマンドを入力することができます。LATCP を終了するためには,このプロンプトに対してEXIT と入力するか,Ctrl/Zを押します。

また,次の例のようにDCL文字列代入文を使用して,単一のLATCPコマンドを実行することもできます。

     $ LCP :== $LATCP
     $ LCP SET NODE/STATE=ON

LATCPはSET NODEコマンドを実行したのち,DCLに制御を返します。

24.4.2 LATCPコマンド

表 24-1は,LATCPの各コマンドについてまとめています。

表 24-1 LATCPコマンド

コマンド 機能
ATTACH 現在のプロセスから指定されたプロセスに制御を移す。
CREATE LINK LATデータ・リンクを作成する。
CREATE PORT ローカル・ノード上に論理ポートを作成する。
CREATE SERVICE サービス・ ノード上にサービスを定義する。
DEFINE/KEY コマンド文字列をキーパッド上のファンクション・ キーに割り当てる。
DELETE LINK ノードからLATデータ・リンクを削除する。
DELETE PORT アプリケーション・ ポートまたは専用ポートを削除する。
DELETE QUEUE_ENTRY ローカル・ノードからキュー登録された接続要求を削除する。
DELETE SERVICE サービス・ノード上のサービスを削除する。
EXIT DCLコマンド・ レベルに戻る。
HELP LATCPコマンドのヘルプ・テキストを表示する。
RECALL 以前に入力されたLATCPコマンドを再び呼び出して, そのコマンドを再度実行できるようにする。
REFRESH スクリーンの内容をリフレッシュする。 たとえば,スクリーンの表示が他のソースからの出力によって上書きされた場合に使用する。
SCROLL スクロールして画面から消えた情報の検索を可能にする。
SET LINK LAT データ・リンクの特性を変更する。
SET NODE ノードのLAT特性を指定する。
SET PORT ノード上の論理ポートをターミナル・ サーバ上のリモート・デバイスまたは遠隔LATサービス・ノード上の特殊アプリケーション・ サービスのいずれかにマップする。
SET SERVICE サービス特性を変更する。
SHOW LINK ノード上に存在するリンクの特性を表示する。
SHOW NODE ノードの特性を表示する。
SHOW PORT ポートの特性を表示する。
SHOW QUEUE_ENTRY ローカル・ノードでキュー登録された要求または入力に関する情報を表示する。
SHOW SERVICE ローカル・ノードが認識しているLAT サービスの特性を表示する。
SPAWN サブプロセスを作成する。
ZERO COUNTERS ローカル・ノードで保持されているノード・ カウンタ,サービス・カウンタ,リンク・カウンタをリセットする。

LATCPの各コマンドと指定可能な修飾子についての詳細は,『OpenVMSシステム管理ユーティリティ・ リファレンス・マニュアル』を参照してください。

24.5 LATプロトコルのスタートアップ

システム管理者として,LATプロトコルをスタートアップし,ローカル・ ノードをサービス・ノードとして構成します。そのためには,コマンド・ プロシージャSYS$STARTUP:LAT$STARTUPを実行します。このプロシージャは, 次の2つのプロシージャを実行します。

  1. LAT$CONFIG.COM

    LATターミナル・ドライバであるLTDRIVERをロードして,LATACPプロセスを作成する。

  2. LAT$SYSTARTUP.COM

    LAT特性を定義するLATCPのコマンドを実行する。

作業方法

システムのブート時に必ずLATプロトコルが起動されるようにするためには, 以下に示すように,汎用のサイト別スタートアップ・コマンド・プロシージャにこのプロシージャを実行するコマンドを追加します。 このコマンド・ プロシージャについての詳細は第5.2.1 項を参照してください。そこでは,オペレーティング・システムでこのコマンド・ プロシージャを特定するためのファイル指定などを示しています。

システムがブートするたびにローカル・ノードをLATサービス・ノードとして設定し, システム上でLATプロトコル・ソフトウェアを起動するには, 汎用のサイト別スタートアップ・コマンド・プロシージャに次の行を追加します。

     $ @SYS$STARTUP:LAT$STARTUP.COM

汎用のサイト別スタートアップ・コマンド・プロシージャがこのコマンドを実行すると,LAT$STARTUP.COM が呼び出されます。LAT$STARTUP.COMは, コマンド・プロシージャのLAT$CONFIGおよびLAT$SYSTARTUPを呼び出します。

LAT$STARTUPを呼び出すコマンド行に次の引数を指定して,ローカル・ノード独自のLAT 特性を指定することができます。プロシージャはこれらの引数をLAT$SYSTARTUP.COM に渡して,指定されたLAT特性を定義します。

     $ @SYS$STARTUP:LAT$STARTUP "P1" "P2" "P3" "P4" "P5"

P1からP5にパラメータを渡すよりも,できるだけLAT$SYSTARTUP.COM を直接変更するようにしてください。P1からP5を使用する場合は, 次の表を参照して各パラメータの意味を理解してください。

引数 形式 意味
P1 サービス名 サービスの名前。サービス・ノードがクラスタ化されている場合には, サービス名としてクラスタ別名を使用する。サービス・ノードが独立している場合には,DECnet ノード名を使用する。LAT$SYSTARTUP.COM は(LATCP CREATE SERVICEコマンドを使用して),引数P1に指定されたサービス名をノードに割り当てる。
P2-P4 以下のいずれか LAT$SYSTARTUP.COMは(LATCP SET NODEコマンドを使用して),この引数に指定された値に基づいてLAT ノード特性を割り当てる。
/IDENTIFICATION= "文字列" ノードおよびそのノードからローカル・エリア・ネットワーク(LAN) 上に通知されるサービスの説明。この値を省略すると, 論理名SYS$ANNOUNCEで定義された文字列が割り当てられる。指定する文字列は5 組の二重引用符で囲む必要がある。

例:

     "/IDENTIFICATION=" - """""Official system center"""""
/GROUPS=(ENABLE= グループのリスト) サービス・ノードとの接続を許可するターミナル・ サーバ・グループを設定する。省略時の設定では, グループ0が接続可能になる。
/GROUPS=(DISABLE= グループのリスト) 指定されたターミナル・ サーバ・グループを接続可能に設定されているグループから削除する。 後に示す例にあるように,修飾子/GROUPSの後ろに,接続を許可するグループと接続を禁止するグループの両方を同時に指定することができる。
P5 CREATE SERVICEコマンドで使用される修飾子のいずれか。 LAT$SYSTARTUP.COMはLATCP CREATE SERVICEコマンドを使用し, この引数で指定された値に基づいてサービス特性を割り当てる。修飾子/IDENTIFICATION ,/LOG,および/STATIC_RATINGを指定することができる。 次の例に示すように複数の修飾子を指定する。
     "/IDENTIFICATION=" -
     """""Official system node""""" -
     "/STATIC_RATING=250"

LATネットワークに関する以下のいずれかの作業を行う場合は, LAT$SYSTARTUP.COMを変更する必要があります。変更内容については,第24.6節を参照してください。

LATCPコマンドとその修飾子に関する全情報については,『OpenVMSシステム管理ユーティリティ・ リファレンス・マニュアル』を参照してください。

次のコマンドは,クラスタOFFICEに属するサービス・ノードNOE 上にサービスOFFICE を定義します(図 24-1を参照) 。

     $ @SYS$STARTUP:LAT$STARTUP OFFICE

24.6 LAT特性のカスタマイズ

ローカル・ノードの特殊なLAT特性を定義する場合は,サイト別コマンド・ プロシージャSYS$MANAGER:LAT$SYSTARTUP.COMを編集します。このコマンド・ プロシージャには,LAT特性を定義するためのLATCPのコマンドが含まれています。LAT$SYSTARTUP.COM は,コマンド・プロシージャLAT$STARTUP を実行すると呼び出されます。第24.5節で説明したように, 通常はLAT$STARTUP.COMを汎用のサイト別スタートアップ・ コマンド・プロシージャから実行します。

ローカル・ノードを会話型ターミナルからの接続だけをサポートするLAT サービス・ノードとして設定する場合には,LAT$SYSTARTUP.COMを変更する必要はありません。 第24.5節で説明したように, コマンド・プロシージャSYS$STARTUP:LAT$STARTUPを呼び出すときにパラメータを指定することにより, サービス名および他の特性を割り当てることができます。

ただし,LAT$SYSTARTUP.COMを編集すると,ローカル・ノードのLAT特性をカスタマイズするためのLATCP のコマンドを追加することができます。カスタマイズ可能な項目は次のとおりです。

作業 参照箇所
複数のサービスの定義 第24.6.1 項
特殊アプリケーション・サービスおよびプリンタのための論理ポートの設定 第24.6.2項
外部からの接続要求のキュー登録 第24.6.3項
外部へのLAT接続を可能にすることによるSET HOST/LAT コマンドのサポート 第24.6.4項
ノード特性の変更 [1] 第24.6.5 項

[1]例として,SET NODEコマンドおよびSET LINKコマンドによる特殊なサービス通知またはLAN リンクの割り当てがある。


重要
コマンド・プロシージャのLAT$STARTUP.COM およびLAT$CONFIG.COMは変更しないでください。これらのプロシージャは,LAT プロトコルを正しく稼働させるために必要な機能を実行するためにコンパックが提供したものです。 コマンド・プロシージャを変更するのは,LAT$SYSTARTUP.COM でサイト固有のLAT特性を定義する場合に限ります。

LAT$SYSTARTUP.COMにはLATCPユーティリティのコマンドを追加するだけにしてください。 また,コマンドの順序は,テンプレート・ファイルSYS$MANAGER:LAT$SYSTARTUP.TEMPLATE 内の順序に従ってください。 第24.6.5項に,LAT$SYSTARTUP プロシージャの変更例を示します。『OpenVMSシステム管理ユーティリティ・ リファレンス・マニュアル』には,LAT$SYSTARTUP.COM に含むことができるすべてのLATCP コマンドの全情報が示されています。

24.6.1 付加サービスの定義

コンパックが提供するLAT$SYSTARTUP.COMプロシージャは,1つのサービスを定義します。 このプロシージャで定義するサービスは,ユーザが汎用のシステム環境にアクセスするために使用する1 次サービス,あるいはデータ・ エントリ・プログラムやオンライン・ニュース・サービスのような特殊なアプリケーション・ サービスのどちらにすることもできます。

Alphaシステムの場合,第24.6.2.3項で説明するように, 決まった数のLTA装置に制限されたサービスを定義することもできます。

LAT$SYSTARTUP.COMプロシージャが定義するサービスの名前はローカル・ ノードの名前と同じになります。ただし,第24.5 節で説明したように,@SYS$STARTUP:LAT$STARTUP.COMコマンドの引数として一意のサービス名を指定すれば, その名前が割り当てられます。

作業方法

LAT$SYSTARTUP.COMによって定義するサービスのほかにもサービスを定義する場合は,CREATE SERVICE コマンドを使用します。このコマンドは,LAT$SYSTARTUP.COM に追加することができます。アプリケーション・ サービスを定義する場合,そのサービスにはできるだけアプリケーション・ プログラムの名前を割り当てるようにしてください。 LATCPユーティリティのCREATE SERVICEコマンドについての詳細は,『OpenVMSシステム管理ユーティリティ・ リファレンス・マニュアル』を参照してください。

次の例は,ローカル・ノード上にアプリケーション・サービスNEWSを定義します。

     $ LCP :== $LATCP
     $ LCP CREATE SERVICE /APPLICATION NEWS

24.6.2 ポートの設定

コンパックが提供するLAT$SYSTARTUP.COMファイルには,サービス・ノード上に論理ポートを作成したり, それらのポートをターミナル・サーバ・ ノード上の物理ポートやサービスに対応づけたりするためのサンプル・コマンドが含まれています。 これらのポートは,アプリケーション・サービスおよび遠隔プリンタに使用できます。

作業方法

ポートを作成する場合は,LAT$SYSTARTUP.COMファイルのサンプル・コマンドの前にある感嘆符(!) を削除します。あるいは,必要に応じてサンプル・ コマンドと同様のCREATE PORTコマンドおよびSET PORTコマンドをファイルに追加します。LATCP ユーティリティのコマンドCREATE PORTおよびSET PORT については,『OpenVMS システム管理ユーティリティ・リファレンス・マニュアル』を参照してください。


注意
アプリケーション・ポートおよび専用ポートは,LATCP ユーティリティのコマンドSET NODE/STATE=ONを実行した 後で作成するようにしてください。それにより,非ページング・ プール・メモリの使用量が最小限に抑えられ,ポートを重複して作成することがなくなります。

LCP CREATE PORT LTA5001:/APPLICATIONなどのコマンドを使用してアプリケーション・ ポートを作成しようとしているとき,次のようなエラーが発生する場合があります

     %LAT-W-CMDERROR, error reported by command executor
     -SYSTEM-F-DUPLNAM, duplicate name

このエラーは,作成しようとしているLATアプリケーション・ポートが他のアプリケーションによってすでに作成されていることを示します。 このポートは,LATCP 自身が作成したものである場合もあります。LATCPのポートLATCP$MGMT_PORT は,LTDRIVERと通信を行うときに使用されます。

このエラーが発生しないようにするためには,アプリケーション・ポートまたは専用ポートを作成するどのコマンドを実行するよりも前に,SET NODE/STATE=ONコマンドを実行します。LATCPのSET NODE/DEVICE_SEEDコマンドを使用する方法もあります。SET NODE/DEVICE_SEED コマンドについての詳細は, 『OpenVMSシステム管理ユーティリティ・ リファレンス・マニュアル』を参照してください。

24.6.2.1 プリンタの設定

プリンタ用のポートを設定する場合は,以下の作業も同時に行う必要があります。

  1. プリンタ用のスプール出力キューを作成する。

  2. 作成したスプール出力キューを起動するコマンドを,他のキューを起動するスタートアップ・ コマンド・プロシージャまたは汎用のサイト別コマンド・ プロシージャに追加する。

これらの作業については,第13章で説明しています。

24.6.2.2 特殊アプリケーション・サービスの設定

特殊アプリケーション・サービスを確立するためには,LATポートを定義するときに/DEDICATED 修飾子を指定します。サービスの接続先のアプリケーション・ プログラムで,同じ専用ポートを定義する必要があります。たとえば, 次のコマンドはNEWSというアプリケーション・サービスのためのポートを設定します。

     $ LCP :== $LATCP
     $ LCP CREATE PORT LTA333:/DEDICATED
     $ LCP SET PORT LTA333:/SERVICE=NEWS

アプリケーション・サービスをLATネットワーク上のユーザ・ターミナルから利用可能にするためには, アプリケーション・プログラムを起動する必要があります。 通常は,アプリケーション起動のためのコマンドをSYLOGIN.COM に追加します。

24.6.2.3 制限されたサービスの設定

専用ポートを持ったアプリケーション・サービスを使用すると,システムが提供するプロセスの制御下にあるLTA 装置(LATターミナルなど)を,あらかじめ決まった数だけ作成できます。 ただし,このような環境では,専用LTA 装置がシステム・ログイン・イメージ(LOGINOUT.EXE)を実行する方法がないので, ユーザはサービスにログインできません。

制限されたサービスを作成して,このサービスに関連する, あらかじめ決まった数のLTA装置にユーザがログインできるようにすることが可能です。LTA 装置がすべて使用中の場合,LATソフトウェアはこのサービスへの追加接続要求を拒否して,"service in use" というエラー・メッセージを表示します。 このようにして制限されたサービスを作成すると, システム上のLATユーザの数を制限できます。ただし,ユーザが制限されたサービスに接続する際のLTA 装置の割り当て方は制御できません。

次の例は,2つのLTA装置を持つ制限されたサービスを設定します。

     $ LCP :== $LATCP
     $ LCP CREATE SERVICE /LIMITED RESTRICTED
     $ LCP CREATE PORT LTA100 /LIMITED
     $ LCP CREATE PORT LTA101 /LIMITED
     $ LCP SET PORT LTA100 /SERVICE=RESTRICTED
     $ LCP SET PORT LTA101 /SERVICE=RESTRICTED

ユーザがRESTRICTEDという名前の制限されたサービスに接続を試みると, LATソフトウェアはLTA100またはLTA101の内,最初に使用できる方を選択して, 接続を完了します。これでユーザはシステムにログインできます。 別のユーザがサービスに接続しようとすると,もう一方のLTA装置に割り当てられます。 このユーザは2番目のシステムにログインできます。 RESTRICTEDという名前の制限されたサービスに関連するこの2つの装置が両方とも使用中であれば, この制限されたサービスへのこれ以降の接続要求は拒否されて, エラー・メッセージ"service in use"が表示されます。

ユーザがシステム(LTA100またはLTA101)からログアウトしても,LTA装置は削除 されません。制限されたサービスへの次の接続要求を受け付けられるように再設定されます。

24.6.3 外部からの接続要求のキュー登録

省略時の設定では,制限されたサービスまたはアプリケーション・サービスへの外部からの接続要求はキューに登録されます。 つまり,ユーザが( 順方向キュー登録が可能なターミナル・サーバ・ポートを使用するか, またはDCLコマンドSET HOST/LAT/QUEUEを入力して)制限されたサービスまたはアプリケーション・ サービスへの接続を要求すると,サービスでポートが使用できない場合には,LAT ソフトウェアはこの接続要求を拒否するのではなくキューに登録します。

作業方法

外部からの接続要求をキューに登録するサービスは,次のような設定および管理を行うことができます。

キュー登録要求のサポートに使用するLATCPコマンドおよび修飾子の詳細は『OpenVMS システム管理ユーティリティ・ リファレンス・マニュアル』を参照してください。

次は,システム上でのキュー登録の許可方法を示す例です。

     $ LCP :== $LATCP
     $ LCP SET SERVICE /QUEUE


注意
システムがキュー登録された接続要求を処理するように構成されている場合は, 次の設定を行ってキュー接続の失敗を防ぐ 必要があります。

24.6.4 外部へのLAT接続の許可

各ノードの省略時の設定では,外部へのLAT接続は不可能になっています。 各ユーザがSET HOST/LATコマンドによりローカル・ノードからLAT接続を確立することを許可する場合は, 外部への接続が可能になるようにLAT$SYSTARTUP.COM を変更します。SET HOST/LATコマンドを使って外部へのLAT 接続を行う方法についての詳細は,『OpenVMS DCLディクショナリ』にあるこのコマンドの説明を参照してください。

外部への接続を可能にするコマンドは,コンパックが提供するLAT$SYSTARTUP.COM ファイルに含まれています。実行したいコマンドがあれば, その前に付いている感嘆符(!)を削除します。あるいは,必要に応じて同様のコマンドをこのファイルに追加します。 詳細は,『OpenVMSシステム管理ユーティリティ・ リファレンス・マニュアル』の中のLATCPユーティリティのパートにある,SET NODE コマンドの修飾子/CONNECTIONSおよび/USER_GROUPS の説明を参照してください。

SET HOST/LATの性能を最適化し,ポートの性能を向上させるためには, システム・パラメータTTY_ALTYPAHDの値を1,500に設定して再ブートします。

ローカル・ノードを外部からの接続だけが可能なサービス・ノードとして設定する場合は,LAT$SYSTARTUP.COM を変更する必要はありません。ただし, 次の場合はLAT$SYSTARTUP.COMを変更します。

24.6.5 LAT$SYSTARTUP.COMプロシージャの変更例

次に示すのは,LAT$SYSTARTUP.COMプロシージャを変更した例です。この変更により, サービスの定義,ポートの作成と設定,外部からおよび外部への両方向の接続の許可が行われます。

$!
$!    LAT$SYSTARTUP.COM -- LAT Startup Commands Specific to Site
$!
$!    Use this command procedure to customize the LAT characteristics for
$!    the local node.  These commands, which should serve as examples,
$!    will set up a LAT service name SYS$NODE and default identification
$!    SYS$ANNOUNCE.  The LAT service name and identification will default
$!    to SYS$NODE and SYS$ANNOUNCE unless you specify a service name and
$!    identification as arguments to the command line that invokes
$!    LAT$STARTUP.COM:
$!                    $ @SYS$STARTUP:LAT$STARTUP
$!
$!    You can specify other node and service characteristics (such as group
$!    codes) as arguments to this command line, as shown below.
$!
$!        Argument     Function
$!        ---------    --------
$!
$!           P1        Name of the service to be created.  If not supplied, a
$!                     service will be created with the same name as the node.
$!
$!        P2,P3,P4     Parameters and qualifiers to the SET NODE command.
$!
$!           P5        Parameters and qualifiers to the SET SERVICE command.
$!                     P5 is only used if P1 is specified.  More than one
$!                     argument may be supplied by enclosing the string in
$!                     quotes.
$!
$!    Example: $ @SYS$STARTUP:LAT$STARTUP HAWK "/IDENTIFICATION=" -
$!                      """""Development node"""""
$!
$!    Please review and edit this file for possible additions and deletions
$!    that you wish to make.  Future software updates will not overwrite the
$!    changes made to this file.
$!
$ required_privileges = "OPER"
$ prev_privs = f$setprv(required_privileges)
$ if .not. f$privilege(required_privileges) then goto no_privileges
$ lcp := $latcp
$!
$! ---------------------  Modify Node Characteristics  ------------------------
$!
$ lcp set node 'p2' 'p3' 'p4'
$!
$! Some examples:
$!
$! ** Allow incoming connections only
$!
$! lcp set node /connections=incoming /groups=(enable=(12,40,43,73),disable=0)
$! lcp set node /connections=incoming /groups=enable=(0-255)
$!
$ LCP SET NODE /CONNECTIONS=INCOMING /GROUPS=(ENABLE=(12,40,43,73),DISABLE=0)
$!
$! ** Allow outgoing connections only
$!
$! lcp set node /connections=outgoing /user_groups=enable=(24,121-127)
$! lcp set node /connections=outgoing /user_groups=(enable=0-255) /node_limit=50
$!
$! ** Enable incoming and outgoing connections
$!
$! lcp set node /connections=both /group=enable=(43,73) /user=enable=(44,56)
$! lcp set node /connections=both /group=enable=(0-255) /user=enable=(0-255)
$!
$!
$! --------------------  Modify Service Characteristics  ----------------------
$!
$ if p1 .eqs. ""
$ then
$    lcp create service
$ else
$     lcp create service 'p1' 'p5'
$ endif
$! -------------------------  Start LAT Protocol  -----------------------------
$!
$ lcp set node /state=on
$!
$!
$! -------------------------  Create and Map Ports  ---------------------------
$!
$! Some examples:
$!
$! lcp create port lta101: /dedicated
$! lcp create port lta102: /application
$! lcp create port lta103: /application
$! lcp create port /nolog/logical=(name=ln03$mgmt, table=system, mode=executive)
$
$ LCP CREATE PORT LTA1: /NOLOG
$ LCP CREATE PORT LTA20: /NOLOG
$
$! lcp set port lta101: /dedicated /service=graphics
$! lcp set port lta102: /node=server_1 /port=port_1
$! lcp set port lta103: /node=server_2 /service=laser
$! lcp set port ln03$mgmt: /node=server_3 /service=ln03_printers
$!
$ LCP SET PORT LTA1: /APPLICATION/NODE=TERM_SERVER_1 /PORT=PORT_6
$ LCP SET PORT LTA20: /APPLICATION/NODE=TERM_SERVER_2 /PORT=PORT_6
$!
$exit:
$ prev_privs = f$setprv(prev_privs)
$ exit
$!
$no_privileges:
$ write sys$output "Insufficient privileges to execute LATCP commands."
$ write sys$output "Requires ",required_privileges," privileges."
$ goto exit

24.7 LATACPデータベースのサイズの管理

OpenVMSノード上では,LATソフトウェアの別のコンポーネントであるLAT 補助制御プロセス(LATACP)によって,利用可能なノードとサービスのデータベースが保守されます。 このデータベースには,遠隔LATノードからマルチキャストされたノードとサービス, あるいは,ローカル・システムで定義したローカル・ ノードと1つ以上のローカル・サービスが登録されます。 このデータベースのサイズの上限は,システム・パラメータCTLPAGES の値に依存します。

LATCPコマンドの入力後,次のような応答メッセージを受け取ることがあります。

     %LAT-W-CMDERROR, error reported by command executor
     -LAT-F-ACPNOCTL, insufficient resources - ACP CTL/P1 space limit reached

このメッセージは,データベースのサイズがCTLPAGESで指定されている上限に達したことを示します。 次にいずれかの方法でこの状態を修正することができます。


[ 前のページ ] [ 次のページ ] [ 目次 ] [ 索引 ] [ DOC Home ]